Запчасти Case IH PUMA 165 (35.322.AD[05]) - VAR - 758016, 758017, 758018, 758019, 758020, 758021 - LOW PRESSURE, MANIFOLD (35) - HYDRAULIC SYSTEMS

Схема запчастей Case IH PUMA 165 - (35.322.AD[05]) - VAR - 758016, 758017, 758018, 758019, 758020, 758021 - LOW PRESSURE, MANIFOLD (35) - HYDRAULIC SYSTEMS
11
21
5
16
6
20
15
23
9
14
18
7
8
10
4
17
12
19
24
35.322.ad (06)
3
1
25
2
22
13
FIT
1:1
100%

Артикул

Название

Примечание

Количество

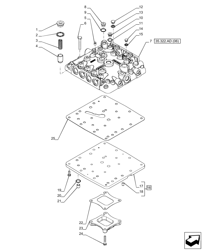
1

10278311

PLUG,M28 x 1.5 x 15

1шт.

2

87665421

SEALING WASHER,26mm ID x 38mm OD x 1.5mm Thk

1шт.

3

5176720

SPRING,Compression, 17mm OD x 50mm L

1шт.

4

5187494

BY-PASS VALVE

1шт.

5

14324011

PLUG,Taper Pipe, Sq Hd, M10 x 1 x 14mm, Cl 5.8

1шт.

6

11343724

BOLT,Hex, M10 x 1.25 x 65mm, Cl 8.8

4шт.

7

87316740

COVER

1шт.

8

10119311

PLUG,M16 x 1.5 x 12, Cl5.8

1шт.

9

14437885

O-RING,13.30mm ID x 2.40mm

1шт.

10

10118740

PLUG,M14 x 1.5 x 15, Brass

1шт.

11

14437785

O-RING,11.3mm ID x 2.4mm

1шт.

12

10300511

PLUG,M12 x 1.5 x 12, Cl5.8

1шт.

13

5183780

SEALING WASHER,9.73mm ID x 18mm OD x 1.5mm Thk

1шт.

14

11903011

PLUG,M10 x 1 x 11, Cl5.8

2шт.

15

87665413

SEALING WASHER,7.9mm ID x 17.0mm OD x 1.5mm Thk

2шт.

16

87318876

PLATE

ASSY, Incl 17, 18

1шт.

17

NSS

NOT SOLD SEPARAT

Cover, Incl in 16

1шт.

18

5153109

DOWEL,10mm OD x 15mm L

2шт.

19

120104

BOLT,Hex, M8 x 1.25 x 20mm, Cl 8.8

5шт.

20

14457280

O-RING,0.103" Thk x 0.612" ID, -114, Cl 5, 75 Duro

4шт.

21

5178778

SPACER,11mm ID x 15mm OD x 15mm L

4шт.

22

87318886

GASKET,0.5mm Thk

1шт.

23

87318878

COVER

1шт.

24

386045

BOLT,Hex, M8 x 1.25 x 45mm, Cl 8.8

4шт.

25

87318885

GASKET,0.7-0.9mm Thk

1шт.

Выбрано товаров: 25