Запчасти Case IH PUMA 185 (33.220.AM[02]) - VAR - 337487, 758040, 758042 - TRAILER BRAKE VALVE, COMPONENTS (33) - BRAKES & CONTROLS

Схема запчастей Case IH PUMA 185 - (33.220.AM[02]) - VAR - 337487, 758040, 758042 - TRAILER BRAKE VALVE, COMPONENTS (33) - BRAKES & CONTROLS
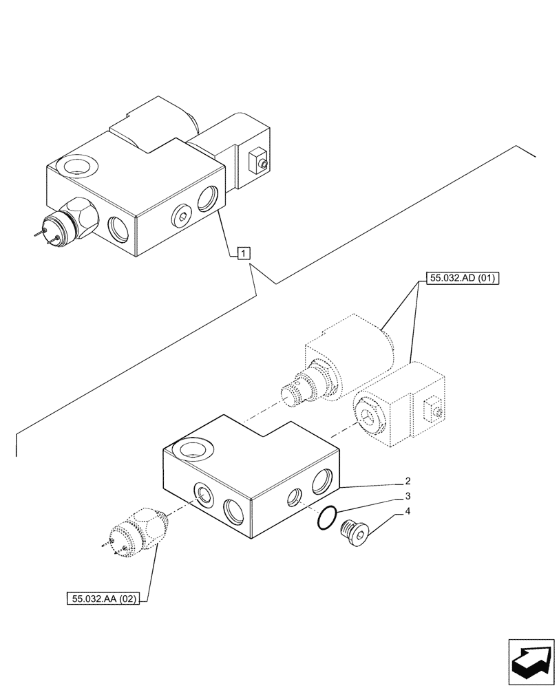
55.032.ad (01)
3
2
1
4
55.032.aa (02)
FIT
1:1
100%

Артикул

Название

Примечание

Количество

1

5196175

BRAKE VALVE

ASSY, Incl 2 - 4

1шт.

2

5196170

BLOCK

1шт.

3

14437685

O-RING,9.30mm ID x 2.40mm

1шт.

4

10118611

PLUG,M12 x 1.5 x 15.00mm, Cl 5.8

1шт.

Выбрано товаров: 4