Запчасти Case IH PUMA 185 (37.100.AF[03]) - VAR - 758657, 758658, 758937, 758938 - TRAILER HITCH (37) - HITCHES, DRAWBARS & IMPLEMENT COUPLINGS

Схема запчастей Case IH PUMA 185 - (37.100.AF[03]) - VAR - 758657, 758658, 758937, 758938 - TRAILER HITCH (37) - HITCHES, DRAWBARS & IMPLEMENT COUPLINGS
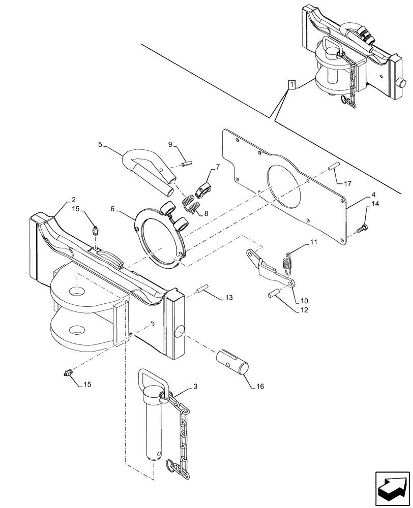
1
11
7
15
14
12
10
5
13
15
16
2
4
17
3
9
6
8
FIT
1:1
100%

Артикул

Название

Примечание

Количество

1

47539904

TOW HOOK

ASSY, Incl 2 - 17

1шт.

2

NSS

NOT SOLD SEPARAT

Coupling, Cuna C, Cnh Darkgrey, Incl in 1

1шт.

3

47604283

PIN,28mm OD x 135mm L

1шт.

4

47689199

PLATE

1шт.

5

47689176

HANDLE

1шт.

6

47689185

BRACKET

1шт.

7

47689182

HOLDER

1шт.

8

47689191

SPRING

1шт.

9

14604379

PIN,6mm OD x 36mm L

1шт.

10

47689184

ROD

2шт.

11

47689196

SPRING

2шт.

12

47689801

DOWEL,8mm OD x 24mm L

8 x 24mm

2шт.

13

47689679

DOWEL,6mm OD x 26mm L

6 x 26mm

2шт.

14

86639037

BOLT,Hex, M6 x 16mm, Cl 10.9, Full Thd

8шт.

15

87563868

FITTING,M8 x 1.17mm

M8 x 1.17mm

2шт.

16

47689186

LOCK PIN

2шт.

17

NSS

NOT SOLD SEPARAT

Dowel, 8 x 10mm, Incl in 1

2шт.

Выбрано товаров: 17