Запчасти Case IH 9370 QUADTRAC (6-032) - TRANSMISSION SHIFT CONTROLS (06) - POWER TRAIN

Схема запчастей Case IH 9370 QUADTRAC - (6-032) - TRANSMISSION SHIFT CONTROLS (06) - POWER TRAIN
10
17
16
10
20
5
2
19
8
8
1
7
6
21
19
7
3
9
FIT
1:1
100%

Артикул

Название

Примечание

Количество

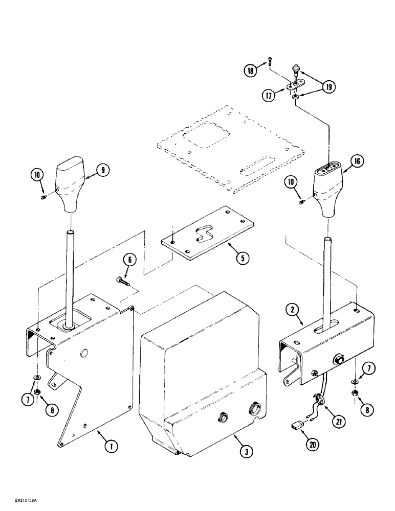
1

60-6060T91

CONTROL

ASSEMBLY - mode, forward or reverse, parts list Figure 6-034

1шт.

2

60-6483T92

CONTROL

ASSEMBLY - pulser, upshift or downshift, parts list Figure 6-036

1шт.

3

60-7195T2

CONTROL

LER - transmission, electronic, prior to P.I.N. JEE0071001

1шт.

3

60-7288T1

CONTROL

LER - transmission, P.I.N. JEE0071001 and after

1шт.

5

60-6140T1

LARGE PLATE

PLATE - wear, mode control

1шт.

6

19-1018

SELF-TAP SCREW,Cross Pan Hd, #10 x 3/4"

SCREW - pan head, self-tapping, special, No. 10 NS x 3/4 inch

4шт.

7

495-11028

WASHER,1/4", SAE

(flat, 9/32 x 5/8 x 1/16") 1/4", SAE

6шт.

8

19-6082

JAM NUT

- lock, 1/4 inch NC

6шт.

9

60-6036T1

KNOB

KNOB - shift handle

1шт.

10

19-5798

SET SCREW

SCREW - set, No. 8 NC

2шт.

16

60-6488T2

BUTTON

KNOB - shift handle

1шт.

17

60-6480T1

LARGE PLATE

PLATE - retaining, switch

1шт.

18

260-1338

SELF-TAP SCREW,Cross Pan Hd, #6 x 1/2"

SCREW - self-tapping, pan Phillips, No. 6-20 x 1/2 inch

2шт.

19

60-6482T2

IGNITION SWITCH

SWITCH - includes washer, skip-shift

1шт.

20

60-6479T1

CONNECTION,ELECTRIC

CONNECTOR - electrical

1шт.

21

22-824

CABLE TIE,3/16" x 7 1/4"

STRAP - tie, 7 inch, Nylon

2шт.

Выбрано товаров: 16