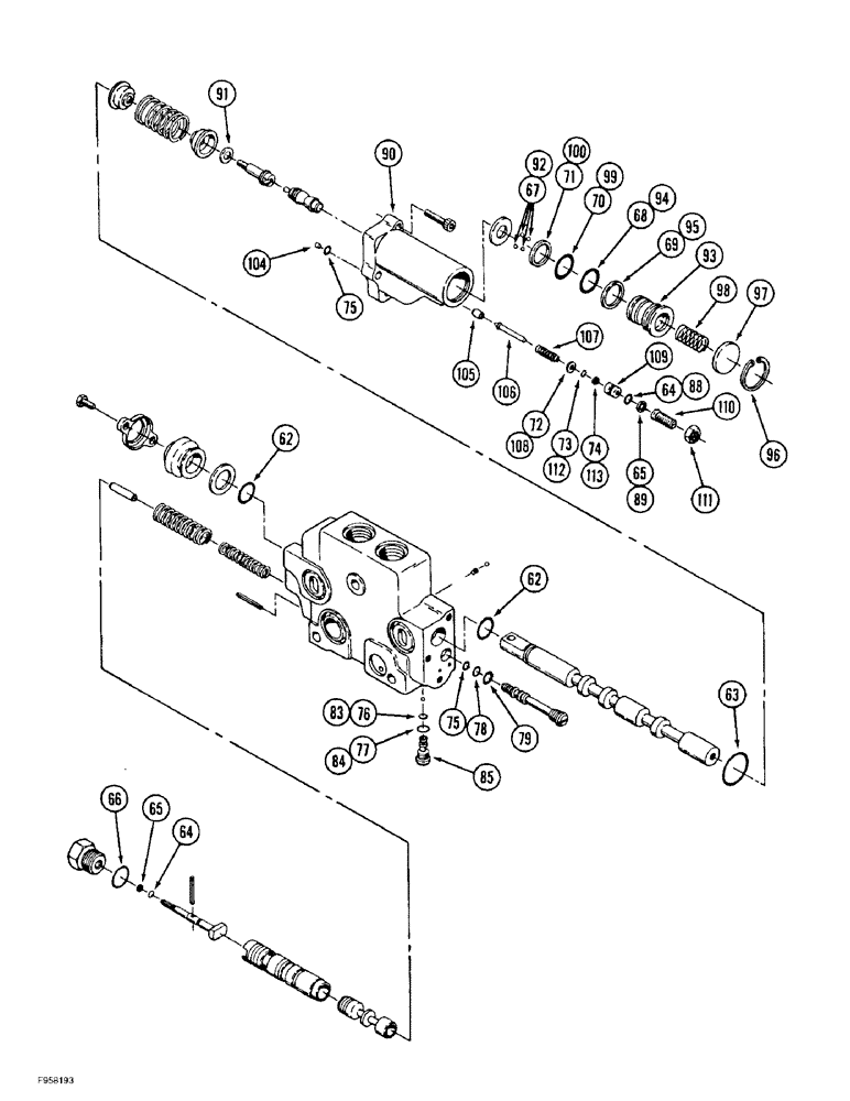
Запчасти Case IH 9370 QUADTRAC (8-046) - HYDRAULIC REMOTE VALVE SECTION, FIRST SECTION WITH PRIORITY AND FLOAT (CONTD) (08) - HYDRAULICS

Схема запчастей Case IH 9370 QUADTRAC - (8-046) - HYDRAULIC REMOTE VALVE SECTION, FIRST SECTION WITH PRIORITY AND FLOAT (CONTD) (08) - HYDRAULICS
63
88
68
110
112
69
78
98
111
62
64
113
91
105
66
93
99
76
89
62
109
65
85
100
94
79
97
65
72
67
106
83
70
77
75
75
84
74
71
107
95
108
73
104
64
92
90
96
FIT
1:1
100%

Артикул

Название

Примечание

Количество

50-3562T91

VALVE, CONTROL

SECTION ASSEMBLY - valve, priority and float, Includes: Ref. 62 - 113 and 1 - 58 on Figure 8-044

1шт.

50-2388T1

SEAL KIT

KIT - seal, detent, primary and secondary, Includes: Ref. 62 - 79

1шт.

62

238-5116

O-RING,0.103" Thk x 0.75" ID, -116, Cl 5, 75 Duro

Spool -116, 70 Duro, .737" ID x .103" Thk

2шт.

63

238-5026

O-RING,0.07" Thk x 1.239" ID, -26, Cl 5, 75 Duro

-026, 70 Duro, 1.239" ID x .070" Thk, Detent housing

1шт.

64

238-5008

O-RING,0.07" Thk x 0.18" ID, -8, Cl 5, 75 Duro

-008, 70 Duro, .176" ID x .070" Thk

2шт.

65

D71056

RING,Split, 4.47mm ID x 7.21mm OD x 1.32mm Thk

- backup

2шт.

66

237-6010

O-RING,0.097" Thk x 0.755" ID, -910, Cl 6, 90 Duro

10-1, 90 Duro, .755" ID x .097" Thk, Plug

1шт.

67

211-1007

BALL,7/32" Dia

Gr 24, Chrome alloy steel 7/32" Dia

8шт.

68

238-5022

O-RING,0.07" Thk x 0.99" ID, -22, Cl 5, 75 Duro

-022, 70 Duro, .989" ID x .070" Thk, Kickout piston

1шт.

69

A52208

SEAL,25.98mm ID x 28.73mm OD x 1.32mm Thk

RING - backup

1шт.

70

238-5021

O-RING,0.07" Thk x 0.926" ID, -21, Cl 5, 75 Duro

-021, 70 Duro, .926" ID x .070" Thk, Kickout piston

1шт.

71

L35295

SEALING RING,Split, 24.38mm ID x 27.13mm OD x 1.32mm Thk

RING - backup

1шт.

72

A48935

WASHER

- poppet valve, spring

1шт.

73

238-5006

O-RING,0.07" Thk x 0.114" ID, -6, Cl 5, 75 Duro

-006, 70 Duro, .114" ID x .070" Thk, Poppet

1шт.

74

A52378

RING,Split, 3.56mm ID x 6.3mm OD x 1.32mm Thk

- backup

1шт.

75

238-6009

O-RING,0.07" Thk x 0.208" ID, -9, Cl 6, 90 Duro

3шт.

76

238-6008

O-RING,0.07" Thk x 0.176" ID, -8, Cl 6, 90 Duro

Shuttle, secondary -008, 90 Duro, .176" ID x .070" Thk

1шт.

77

237-6003

O-RING,0.064" Thk x 0.301" ID, -903, Cl 6, 90 Duro

3-1, .301" ID x .064" Thk, Shuttle, secondary

1шт.

78

238-6010

O-RING,0.07" Thk x 0.239" ID, -10, Cl 6, 90 Duro

Shuttle, primary -010, 90 Duro, .239" ID x .070" Thk

1шт.

79

237-6004

O-RING,0.072" Thk x 0.351" ID, -904, Cl 6, 90 Duro

4-1, 90 Duro, .351" ID x .072" Thk, Shuttle, primary

1шт.

R30185

SEAL KIT

KIT - seal, Includes: Ref. 83 & 84

1шт.

83

238-6008

O-RING,0.07" Thk x 0.176" ID, -8, Cl 6, 90 Duro

Shuttle, secondary -008, 90 Duro, .176" ID x .070" Thk

1шт.

84

237-6003

O-RING,0.064" Thk x 0.301" ID, -903, Cl 6, 90 Duro

3-1, .301" ID x .064" Thk, Shuttle, secondary

1шт.

85

A47204

PLUG

BODY - shuttle, secondary

1шт.

338703A1

KIT

- housing, detent, replaces A48940 housing, Includes: Ref. 88 - 113

1шт.

88

238-5008

O-RING,0.07" Thk x 0.18" ID, -8, Cl 5, 75 Duro

-008, 70 Duro, .176" ID x .070" Thk, Poppet

1шт.

89

D71056

RING,Split, 4.47mm ID x 7.21mm OD x 1.32mm Thk

- backup

1шт.

90

NSS

NOT SOLD SEPARAT

HOUSING - detent

1шт.

91

A48931

WASHER

- guide

1шт.

92

211-1007

BALL,7/32" Dia

Gr 24, Chrome alloy steel 7/32" Dia

8шт.

93

A48932

PISTON

- kickout

1шт.

94

238-5022

O-RING,0.07" Thk x 0.99" ID, -22, Cl 5, 75 Duro

-022, 70 Duro, .989" ID x .070" Thk, Piston

2шт.

95

L35295

SEALING RING,Split, 24.38mm ID x 27.13mm OD x 1.32mm Thk

RING - backup

1шт.

96

100-21118

SNAP RING,1.188", Int, #118

Ring, Snap, 1.188", Int, #118

1шт.

97

NSS

NOT SOLD SEPARAT

RETAINER - piston

1шт.

98

A48934

SPRING

- detent

1шт.

99

238-5021

O-RING,0.07" Thk x 0.926" ID, -21, Cl 5, 75 Duro

-021, 70 Duro, .926" ID x .070" Thk, Piston

1шт.

100

L35295

SEALING RING,Split, 24.38mm ID x 27.13mm OD x 1.32mm Thk

RING - backup

1шт.

104

NSS

NOT SOLD SEPARAT

PLUG - orifice

1шт.

105

NSS

NOT SOLD SEPARAT

SEAT - pilot float

1шт.

106

NSS

NOT SOLD SEPARAT

POPPET - relief

1шт.

107

NSS

NOT SOLD SEPARAT

SPRING - valve poppet

1шт.

108

A48935

WASHER

- poppet valve, spring

1шт.

109

A48936

GOVERNOR

PISTON - regulator

1шт.

110

A52437

SET SCREW,3/8" - 24 x 1", Gr 7

- adjusting, replaces A47173 screw

1шт.

111

425-156

JAM NUT,Jam, 3/8"-24, G5

1шт.

112

238-5006

O-RING,0.07" Thk x 0.114" ID, -6, Cl 5, 75 Duro

-006, 70 Duro, .114" ID x .070" Thk, Poppet

1шт.

113

A52378

RING,Split, 3.56mm ID x 6.3mm OD x 1.32mm Thk

- backup

1шт.

Выбрано товаров: 48