Запчасти Case IH 9370 QUADTRAC (9-010) - THREE POINT HITCH ROCKERSHAFTS (09) - CHASSIS/ATTACHMENTS

Схема запчастей Case IH 9370 QUADTRAC - (9-010) - THREE POINT HITCH ROCKERSHAFTS (09) - CHASSIS/ATTACHMENTS
3
12
3
14
2
11
13
1
15
3
2
14
FIT
1:1
100%

Артикул

Название

Примечание

Количество

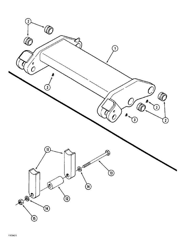
1

70-6010T1

HITCH ASSY, TRAILER

ROCKERSHAFT - hitch

1шт.

2

70-5966T2

BUSHING,nasp

- pivot, rockershaft

4шт.

3

219-55

LUBE NIPPLE,90 Degree Elbow, 1/8" - 27 NPTF

NIPPLE, LUBE, 90º, 1/8" NPT x .84" lg

4шт.

252909A1

SHAFT ASSY.

ROCKERSHAFT ASSEMBLY - hitch, three point, P.I.N. JEE0069308 and after, Includes: Ref. 1 - 3

1шт.

1

NSS

NOT SOLD SEPARAT

ROCKERSHAFT - hitch, three point, P.I.N. JEE0069308

1шт.

2

70-5966T2

BUSHING,nasp

- pivot, rockershaft, three point hitch, P.I.N. JEE0069308

4шт.

3

219-55

LUBE NIPPLE,90 Degree Elbow, 1/8" - 27 NPTF

NIPPLE, LUBE, , 3 point hitch rockershaft, P.I.N. JEE0069308 90º, 1/8" NPT x .84" lg

4шт.

70-6458T91

BLOCK ASSY.

BLOCK ASSEMBLY - clevis locking, three piece, point hitch, prior to P.I.N. JEE0069308, Includes: Ref. 11 - 15

2шт.

11

NSS

NOT SOLD SEPARAT

CLEVIS - locking block, three point hich, prior to P.I.N. JEE0069308

2шт.

12

70-6459T1

SPACER

- clevis, three point hitch locking block, prior to P.I.N. JEE0069308

1шт.

13

426-672

BOLT,Hex, 3/8" - 16 x 4-1/2", Gr 8

- hex, 3/8 NC x 4-1/2 inch, grade 8, three point hitch locking block, prior to P.I.N. JEE0069308

1шт.

14

496-41041

WASHER,13/32" x 1 1/8" x .134"

- flat, 13/32 x 1-1/8 x 9/64 inch, hardened, 3 point hitch locking block, prior to P.I.N. JEE0069308

2шт.

15

231-1446

NUT,3/8" - 16, Gr 5

NUT, LOCK, , 3-point hitch locking block, prior to P.I.N. JEE0069308 3/8"-16, GB

1шт.

Выбрано товаров: 13