Запчасти Case IH 9370 QUADTRAC (9-016) - QUICK HITCH COUPLER, CATEGORY IV-NARROW, PRIOR TO P.I.N. JEE0069308 (09) - CHASSIS/ATTACHMENTS

Схема запчастей Case IH 9370 QUADTRAC - (9-016) - QUICK HITCH COUPLER, CATEGORY IV-NARROW, PRIOR TO P.I.N. JEE0069308 (09) - CHASSIS/ATTACHMENTS
13
14
5
7
1
43
24
23
2
5
45
44
22
41
22
29
18
6
12
19
28
27
11
6
42
FIT
1:1
100%

Артикул

Название

Примечание

Количество

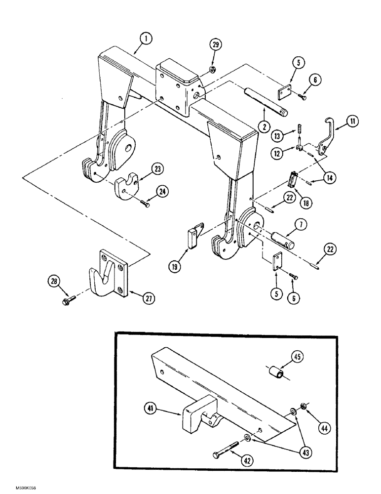
35-1470T91

FAST HITCH

KIT - quick hitch coupler, order from Machinery Price List, Includes: Ref. 1 - 29

1шт.

1

281462A1

COUPLING

HITCH - quick attachment, replaces 20-1919T2 hitch

1шт.

2

70-1895T1

PIN

- hitch, upper

1шт.

5

70-3082T2

LARGE PLATE

BLOCK - pin retaining

3шт.

6

426-816

BOLT,Hex, 1/2" - 13 x 1", Gr 8

- hex, 1/2 NC x 1 inch, grade 8

6шт.

7

70-1894T1

PIN

- hitch, lower

2шт.

11

70-1880T1

LATCH

HANDLE - hitch release

2шт.

12

70-1884T1

PITMAN

LINK - spring return

2шт.

13

2-4345T1

SPRING

- return, handle

2шт.

14

9416325

LOCK PIN,5/16" x 1 1/8", Slotted

Pin, 5/16" x 1 1/8", Slotted

6шт.

18

70-1887T1

PITMAN

LINKAGE - connecting, Serial Range: handle-catch

2шт.

19

70-1890T2

STOP

CATCH - hitch release

2шт.

22

38-33240

PIN,1/2" x 2 1/2", Coiled

4шт.

23

70-1920T1

CAP

- spacer, right-hand

1шт.

23

70-1921T1

CAP

- spacer, left-hand

1шт.

24

413-824

BOLT,Hex, 1/2" - 13 x 1-1/2", Gr 5

4шт.

27

70-1869T1

HOOK

- quick attachment

1шт.

28

19-5787

BOLT,Hex, 3/4" - 10 x 2 1/2", Gr 8

- flange, 3/4 NC x 2-1/2 inch, grade 8

4шт.

29

232-41112

NUT,3/4"-10, GC

NUT, LOCK, 3/4"-10, GC

4шт.

41

70-1913T1

HOOK

- quick attachment, Category III Conversion Kit

1шт.

42

426-16120

BOLT,Hex, 1" - 8 x 7-1/2", Gr 8

- hex, 1 NC x 7-1/2 inch, grade 8, Category III Conversion Kit

2шт.

43

19-5739

WASHER

- flat, special, Category III Conversion Kit

4шт.

44

425-1016

NUT,1"-8, G5

- hex, 1 inch NC, Category III Conversion Kit

2шт.

45

2-5306T1

SPACER

- conversion, Category III Conversion Kit

2шт.

Выбрано товаров: 24