Запчасти Case IH 9370 QUADTRAC (9-022) - DRAWBAR, REYNOLDS, IF USED (09) - CHASSIS/ATTACHMENTS

Схема запчастей Case IH 9370 QUADTRAC - (9-022) - DRAWBAR, REYNOLDS, IF USED (09) - CHASSIS/ATTACHMENTS
12
4
5
3
10
8
9
14
10
1
8
13
15
13
2
16
9
8
7
6
FIT
1:1
100%

Артикул

Название

Примечание

Количество

334661A1

DRAWBAR

ASSEMBLY - reynolds, scrapper, Includes: Ref. 1 - 17

1шт.

Purchase this part along with its component parts direct from Reynolds, McAllen, Texas

1шт.

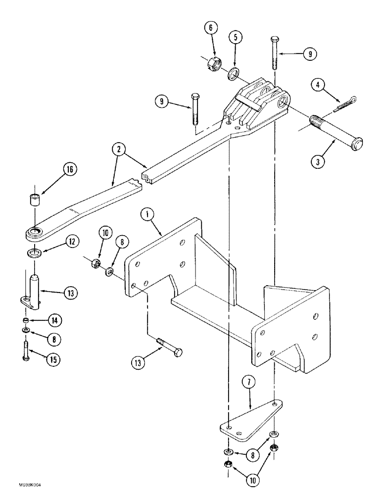
1

336131A1

HANGER

- drawbar

1шт.

2

336130A1

DRAWBAR

- Reynolds

1шт.

336133A1

HITCH PIN

PIN ASSEMBLY - drawbar, Includes: Ref. 3 - 6

1шт.

3

NSS

NOT SOLD SEPARAT

PIN - drawbar

1шт.

4

NSS

NOT SOLD SEPARAT

PIN - cotter

1шт.

5

NSS

NOT SOLD SEPARAT

WASHER - flat, 5/8 inch

1шт.

6

NSS

NOT SOLD SEPARAT

NUT - hex, slotted, 1-1/2 inch

1шт.

7

336132A1

PLATE

- clamp

1шт.

8

496-21106

WASHER,1 1/16" x 2" x .209", HDN

- flat, 1-1/16 x 2 x 13/64 inch, Hardened

23шт.

9

326-1688

BOLT,Hex, 1" - 8 x 5-1/2", Gr 8

3шт.

10

429-1016

NUT,1"-8, G8

- hex, 1 inch NC, grade 8

13шт.

11

426-1648

BOLT,Hex, 1" - 8 x 3", Gr 8

- hex, 1 NC x 3 inch, grade 8

10шт.

12

1-4088

WASHER,45mm ID x 69.9mm OD x 6.35mm Thk

- flat, 1-3/4 x 2-3/4 x 1/4 inch

1шт.

13

70-6076T2

PIN

- clevis

1шт.

14

70-5967T1

SPACER,16.7mm ID x 22.2mm OD x 11.2mm

- pin

1шт.

15

426-1024

BOLT,Hex, 5/8" - 11 x 1-1/2", Gr 8

- hex, 5/8 NC x 1-1/2 inch, grade 8

1шт.

16

339922A1

SPACER

- drawbar

1шт.

ECN F990106 replaces this spacer with P/N 339922A2 spacer. NAPO Tech Note

1шт.

17

496-21066

WASHER,16.6mm ID x 33.5mm OD x 3.8mm Thk

- flat, 21/32 x 1-5/16 x 5/32 inch, hardened

1шт.

Выбрано товаров: 21