Запчасти Case IH 9370 QUADTRAC (9-034) - MONITOR MOUNT (09) - CHASSIS/ATTACHMENTS

Схема запчастей Case IH 9370 QUADTRAC - (9-034) - MONITOR MOUNT (09) - CHASSIS/ATTACHMENTS
10
8
7
4
6
2
1
5
5
9
3
3
5
9
8
10
FIT
1:1
100%

Артикул

Название

Примечание

Количество

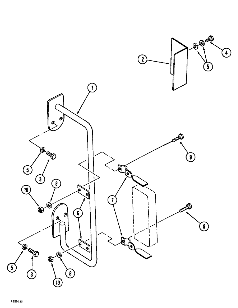
35-1924T91

SUPPORT ASSY.

KIT - monitor mounting, no longer available, order components separately, Includes: Ref. 1 - 10

1шт.

1

60-7048T1

SUPPORT

MOUNT - monitor

1шт.

2

60-6820T1

SUPPORT

BRACKET - mounting, phone (for rear post)

1шт.

3

426-616

BOLT,Hex, 3/8" - 16 x 1", Gr 8

4шт.

4

426-68

BOLT,Hex, 3/8" - 16 x 1/2", Gr 8

- hex, 3/8 NC x 1/2 inch, grade 8

2шт.

5

495-21044

WASHER,3/8"

(flat, 7/16 x 1 x 5/64 inch) 3/8"

4шт.

6

103226A1

CLAMP

- mounting bracket

2шт.

7

103213A1

HOLDER

BRACKET - mounting

2шт.

8

895-11008

WASHER,9mm ID x 16mm OD x 1.6mm Thk

- flat, 9 x 17 x 1.6 mm

4шт.

9

614-8025

BOLT,Hex, M8 x 1.25 x 25mm, Cl 8.8, Full Thd

- hex, full threads, 8 - 1.25 x 25 mm

4шт.

10

829-1408

NUT,Hex, M8 x 1.25, Cl 10.9

- hex, 8 mm - 1.25, class 10

4шт.

Выбрано товаров: 11