Запчасти Case IH 9370 QUADTRAC (4-024) - GAUGE PANEL, P.I.N. JEE0071001 AND AFTER (04) - ELECTRICAL SYSTEMS

Схема запчастей Case IH 9370 QUADTRAC - (4-024) - GAUGE PANEL, P.I.N. JEE0071001 AND AFTER (04) - ELECTRICAL SYSTEMS
25
41
9
35
28
7
11
27
19
8
2
10
34
40
29
12
13
5
24
21
22
1
38
31
23
32
24
26
30
6
21
3
33
22
20
4
22
20
19
37
FIT
1:1
100%

Артикул

Название

Примечание

Количество

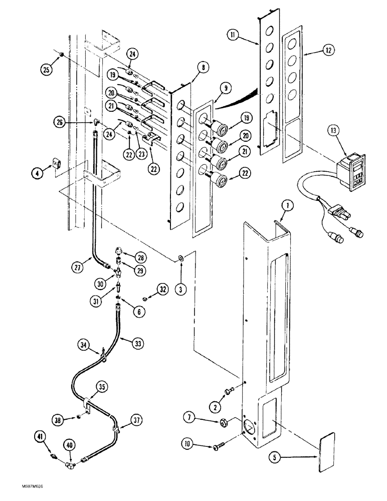
1

60-7056T2

COVER

- panel, cab, gauge

1шт.

1

60-6166T1

COVER

- panel, ROPS

1шт.

2

19-6136

STUD

- quarter turn, five used on ROPS

6шт.

3

19-5668

WASHER

- flat, 1/4 x 3/4 x 3/16 inch

6шт.

4

A36042

CLIP

RETAINER - quarter turn, five used on ROPS

6шт.

5

REF

INSTRUCTION

DECAL - MPH, See Figure 9-93 for decal

1шт.

6

425-117

NUT,7/16"-20, G5

1шт.

7

230-14106

LOCK NUT,#6-32, GB

NUT - hex, self-locking, No. 6 NC

4шт.

8

60-5756T1

PANEL

- gauge, if used

1шт.

9

60-5939T3

DECAL

- gauge panel, if used, See Figure 9-090 for decal

1шт.

10

140-101

SCREW,Cross Pan Hd, #6 - 32 x 1/2"

4шт.

11

60-7295T1

PANEL ASSY.

PANEL - gauge, if used

1шт.

12

60-7297T1

DECAL

- gauge panel, if used

1шт.

13

60-7298T1

METER

- area, if equipped

1шт.

19

20-2466T2

VOLTMETER

GAUGE - voltmeter

1шт.

20

20-2464T2

FUEL GAUGE

GAUGE - fuel level

1шт.

21

20-2465T2

GAUGE ASSY.

GAUGE - water temperature, engine

1шт.

22

60-6145T2

OIL PRESSURE GAUGE

GAUGE - oil pressure, engine

1шт.

23

23731R1

BULB,C2F, #1893, 14V

- lamp, No.1893

5шт.

24

60-6292T4

HARNESS

- instrument panel lamp

1шт.

25

9411893

LOCK NUT,#10-32, GB

NUT - hex, self-locking, No. 10 NF

4шт.

26

31-2740

ELBOW

- 90 degree, 1/8 PT x 7/16 inch thread

1шт.

27

31-3213

HOSE

- 1143 mm (45 inch) long, guages

1шт.

28

60-6330T1

ASSEMBLY

SWITCH - pressure

1шт.

29

218-1557

HYD CONNECTOR,37º, Sw, 7/16"-20 x 1/8"-27 NPTF

ADAPTER - straight, 7/16-20 swivel x 1/8 inch female PT

1шт.

30

218-5478

TEE,7/16" - 20 JIC x 7/16" - 20 JIC x 7/16" - 20 JIC

- 7/16-20 inch flare branch x flare x swivel

1шт.

31

218-671

FITTING,Blkhd, 7/16"-20, 37 Degree x 7/16"-20, 37 Degree

ADAPTER - straight, 7/16-20 inch flare x bulkhead flare

1шт.

32

64-146

PLUG

- hole, access

1шт.

33

31-3024

HOSE

- 2743 mm (108 inch) long, engine oil pressure

1шт.

34

22-824

CABLE TIE,3/16" x 7 1/4"

STRAP - tie, 7 inch

1шт.

35

31-1070

CLAMP,5/8", 3/8" Bolt, Double

- extended P-type

1шт.

37

515-23190

CLAMP,3/4", Insul, 3/8" Bolt

P-type, One used on cab 3/4", Insul, 3/8" Bolt

2шт.

38

425-106

NUT,3/8"-16, Cl 5

1шт.

40

218-5228

ELBOW,90 Degree, 7/16"-20, 37 Degree x 7/16"-20, 37 Degree Fem Sw

- 90 degree, 7/16-20 inch flare x swivel

1шт.

41

218-441

HYD CONNECTOR,7/16" - 20 Male JIC x 1/8" - 27 Male NPTF

ADAPTER - straight, 7/16-20 flare x 1/8 inch PT

1шт.

35-2010T91

PACKAGE, REPAIR

KIT - area meter installation, P.I.N. JEE0072111 and after includes (1) of 60-7298T1 meter, Ref. 13, and (2) of 22-824 tie wraps, Ref. 34.

1шт.

Machines built prior to P.I.N. JEE0072111 order (1) 35-2011T91 Kit in order to install area meter. All machines built P.I.N. JEE0072111 and after are area meter ready and can order (1) 35-2010T91 Kit for service. As an additional option to the area meter, the implement status switch kit 35-2012T91 may be used to relay information on the positioning of the implement.

1шт.

35-2011T91

PACKAGE, REPAIR

KIT - area meter installation, prior to P.I.N. JEE0072111

1шт.

Machines built prior to P.I.N. JEE0072111 order (1) 35-2011T91 Kit in order to install area meter. All machines built P.I.N. JEE0072111 and after are area meter ready and can order (1) 35-2010T91 Kit for service. As an additional option to the area meter, the implement status switch kit 35-2012T91 may be used to relay information on the positioning of the implement.

1шт.

35-2012T91

IGNITION SWITCH

KIT - implement status switch, not shown, Includes: (1) 221545A1 switch and (2) 221546A1 harness, may be used with area meter

1шт.

Machines built prior to P.I.N. JEE0072111 order (1) 35-2011T91 Kit in order to install area meter. All machines built P.I.N. JEE0072111 and after are area meter ready and can order (1) 35-2010T91 Kit for service. As an additional option to the area meter, the implement status switch kit 35-2012T91 may be used to relay information on the positioning of the implement.

1шт.

Выбрано товаров: 0