Запчасти Case IH 9370 QUADTRAC (5-008) - STEERING COLUMN ASSEMBLY (CONTD) (05) - STEERING

Схема запчастей Case IH 9370 QUADTRAC - (5-008) - STEERING COLUMN ASSEMBLY (CONTD) (05) - STEERING
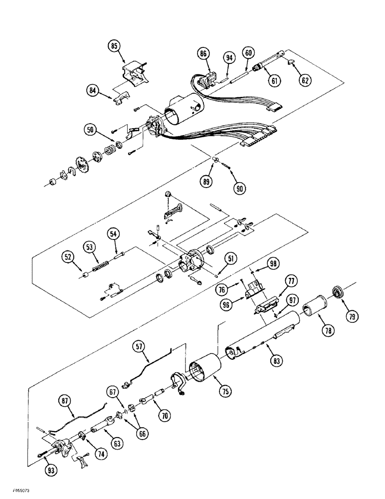
83
96
75
77
50
78
84
74
62
61
86
93
94
90
53
87
51
52
98
85
66
79
67
76
97
89
63
60
57
70
54
FIT
1:1
100%

Артикул

Название

Примечание

Количество

1-7630

STEERING COLUMN

COLUMN ASSEMBLY - steering, tilt and telescoping, Includes: Ref. 50 - 98 and 1 - 48 on Figure 5-006

1шт.

35-1923T91

KIT

- service, pin and spring, column tilt, Includes: Ref. 50 - 54

1шт.

50

NSS

NOT SOLD SEPARAT

BEARING - inner race

1шт.

51

NSS

NOT SOLD SEPARAT

PIN - pivot

2шт.

52

NSS

NOT SOLD SEPARAT

RETAINER - spring

1шт.

53

1-4508

SPRING

- wheel tilt

1шт.

54

NSS

NOT SOLD SEPARAT

GUIDE - spring

1шт.

57

1-4465

ACTUATOR

- switch

1шт.

60

1-4488

STEM

ROD - locking, telescoping

1шт.

61

2-1467

SHAFT

- steering, upper

1шт.

62

1-1312

WEDGE

- locking

1шт.

63

1-4487

YOKE

- race and steering shaft

1шт.

33-1175T1

KIT

- sphere, centering, Includes: Ref. 66 & 67

1шт.

66

NSS

NOT SOLD SEPARAT

SPHERE - centering

2шт.

67

NSS

NOT SOLD SEPARAT

SPRING - preload, joint

1шт.

70

1-4486

STEERING SHAFT

SHAFT - yoke and steering

1шт.

74

1-1326

LARGE PLATE

PLATE - lock

1шт.

75

1-4504

SHROUD

- housing, steering column

1шт.

76

1-1335

SCREW

- machine, flanged

1шт.

77

1-4496

IGNITION SWITCH

SWITCH - ignition

1шт.

78

1-4468

ADAPTER

- bearing, lower

1шт.

79

1-4467

BEARING ASSY

BEARING - lower

1шт.

83

2-1461

COLUMN JACKET

JACKET - housing

1шт.

84

1-4498

ACTUATOR

- rod, dimmer switch

1шт.

85

1-4469

COVER

- end cap, column housing

1шт.

86

2-1452

IGNITION SWITCH

SWITCH - wiper/washer

1шт.

87

2-1462

THREADED ROD

ROD - dimmer switch

1шт.

89

1-4500

BUTTON

KNOB - hazard warning

1шт.

90

19-5456

SCREW,Oval Hd, M3.5

- machine, oval head

1шт.

93

1-1334

SCREW

- mounting, support

4шт.

94

2-1455

PIVOT PIN

PIN - pivot, switch activating

1шт.

96

1-7739

SWITCH

- dimmer

1шт.

97

2-1481

STUD

- mounting, dimmer switch

1шт.

98

225-14110

NUT,#10-24

1шт.

Выбрано товаров: 34