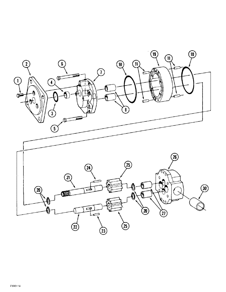
Запчасти Case IH 9370 QUADTRAC (6-028) - POWER SHIFT TRANSMISSION ASSEMBLY, LUBRICATION PUMP ASSEMBLY (06) - POWER TRAIN

Схема запчастей Case IH 9370 QUADTRAC - (6-028) - POWER SHIFT TRANSMISSION ASSEMBLY, LUBRICATION PUMP ASSEMBLY (06) - POWER TRAIN
22
25
7
20
3
4
1
20
11
21
24
27
11
10
26
10
23
5
2
8
30
25
6
19
FIT
1:1
100%

Артикул

Название

Примечание

Количество

90-8454T91

GEARBOX ASSY

TRANSMISSION ASSEMBLY - Powershift, replaces 90-7016T91 transmission, parts list Figures 6-004 - 6-030, Includes: Ref. 1 - 30

1шт.

33-1524T91

PUMP, HYDRAULIC

PUMP ASSEMBLY - transmission lubrication, Includes: Ref. 1 - 30

1шт.

33-1524T91R

REMAN-HYD PUMP

QUADTRAC® (1/97-12/99)

1шт.

33-1524T91C

CORE-HYDRAULIC PUMP

RETURN NUMBER

1шт.

1

33-1540T1

SCREW

BOLT - hex, pump adapter

3шт.

2

33-1541T1

ADAPTER

- pump mounting

1шт.

3

33-1542T1

O-RING

- seal

1шт.

Part of lubrication pump O-ring kit P/N 90-8261T91

1шт.

4

33-1543T1

RING

- locating

1шт.

5

33-1544T1

SCREW

BOLT - hex, housing

4шт.

6

33-1545T1

SCREW

BOLT - hex, housing

4шт.

7

33-1546T1

HOUSING

- front, Includes: Ref. 8

1шт.

8

NSS

NOT SOLD SEPARAT

BUSHING - housing

2шт.

10

33-1547T1

O-RING

- pump housing

2шт.

Part of lubrication pump O-ring kit P/N 90-8261T91

1шт.

11

33-1548T1

DOWEL

PIN - dowel

4шт.

19

33-1549T1

HOUSING

- center

1шт.

20

33-1550T1

RING, SNAP

RING - snap

4шт.

21

33-1551T1

DRIVE SHAFT

SHAFT - drive

1шт.

22

33-1552T1

SHAFT

- idler

1шт.

23

33-1553T1

KEY

- dowel, idler shaft

1шт.

24

33-1554T1

HITCH ASSY

KEY - dowel, drive shaft

1шт.

25

33-1555T1

PINION

GEAR - pump

2шт.

26

33-1556T1

HOUSING

- rear, Includes: Ref. 27

1шт.

27

NSS

NOT SOLD SEPARAT

BUSHING - housing

2шт.

30

33-1557T1

TUBE

- inlet

1шт.

90-8261T91

SEAL KIT

KIT - O-ring, lubrication pump, Includes: Ref. 3 & 10

1шт.

Выбрано товаров: 27