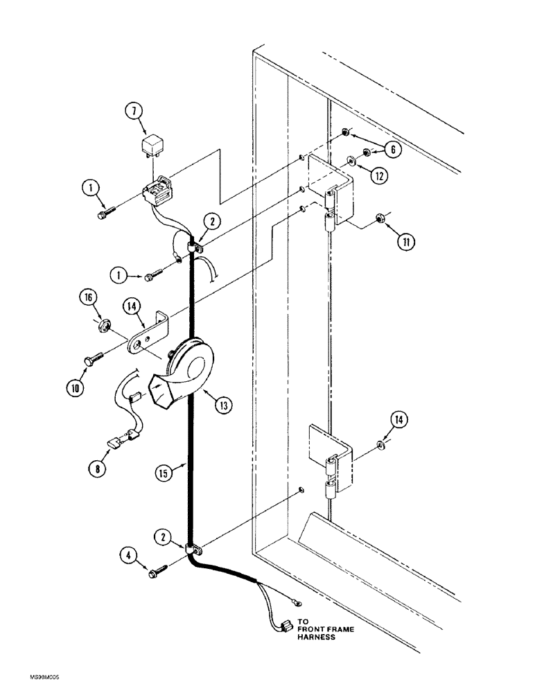
Запчасти Case IH 9380 QUADTRAC (4-064) - HORN AND MOUNTING (04) - ELECTRICAL SYSTEMS

Схема запчастей Case IH 9380 QUADTRAC - (4-064) - HORN AND MOUNTING (04) - ELECTRICAL SYSTEMS
14
1
2
14
11
16
2
10
6
8
7
15
4
12
1
13
FIT
1:1
100%

Артикул

Название

Примечание

Количество

1

463-41012

SCREW,Slot Hex Wash Hd, #10-24 x 3/4"

- machine, hex slotted washer head, No. 10 NC x 3/4 inch

2шт.

2

515-2395

CLAMP,3/8", Insul, 3/8" Bolt

2шт.

4

282-44712

SELF-TAP SCREW,Hex Wash Hd, 1/4"-20 x 3/4"

SCREW - self-drilling tapping, hex washer head, 1/4 NC x 3/4 inch

1шт.

6

193-1004

NUT,Keps, #10 - 24, w/ Ext Tooth LW

NUT - hex, with external tooth lock washer, No. 10 NC

2шт.

7

1983394C2

RELAY

- mini, 12 volt

1шт.

8

22-738

DIODE

- electrical

1шт.

10

426-512

BOLT,Hex, 5/16" - 18 x 3/4", Gr 8

- hex, 5/16 NC x 3/4 inch, grade 8

1шт.

11

231-1445

NUT,5/16"-18, GB

NUT - hex, self-locking, 5/16 inch NC

1шт.

12

495-11028

WASHER,1/4", SAE

(flat, 9/32 x 5/8 x 1/16") 1/4", SAE

2шт.

13

60-7242T1

HORN

- 12 volt, Includes: Ref. 14

1шт.

14

NSS

NOT SOLD SEPARAT

BRACKET - mounting, horn

1шт.

15

60-7241T1

HARNESS

- horn

1шт.

REF: 15 Orig. prod. harness was 4" in length now 6" to accomidate mfg. No part number change - change occured at Rev. C. NAPO TECH.

1шт.

16

L30866

LOCK NUT

- hex, special

1шт.

17

22-824

CABLE TIE,3/16" x 7 1/4"

STRAP - tie, 7 inch, Not shown

2шт.

Выбрано товаров: 15