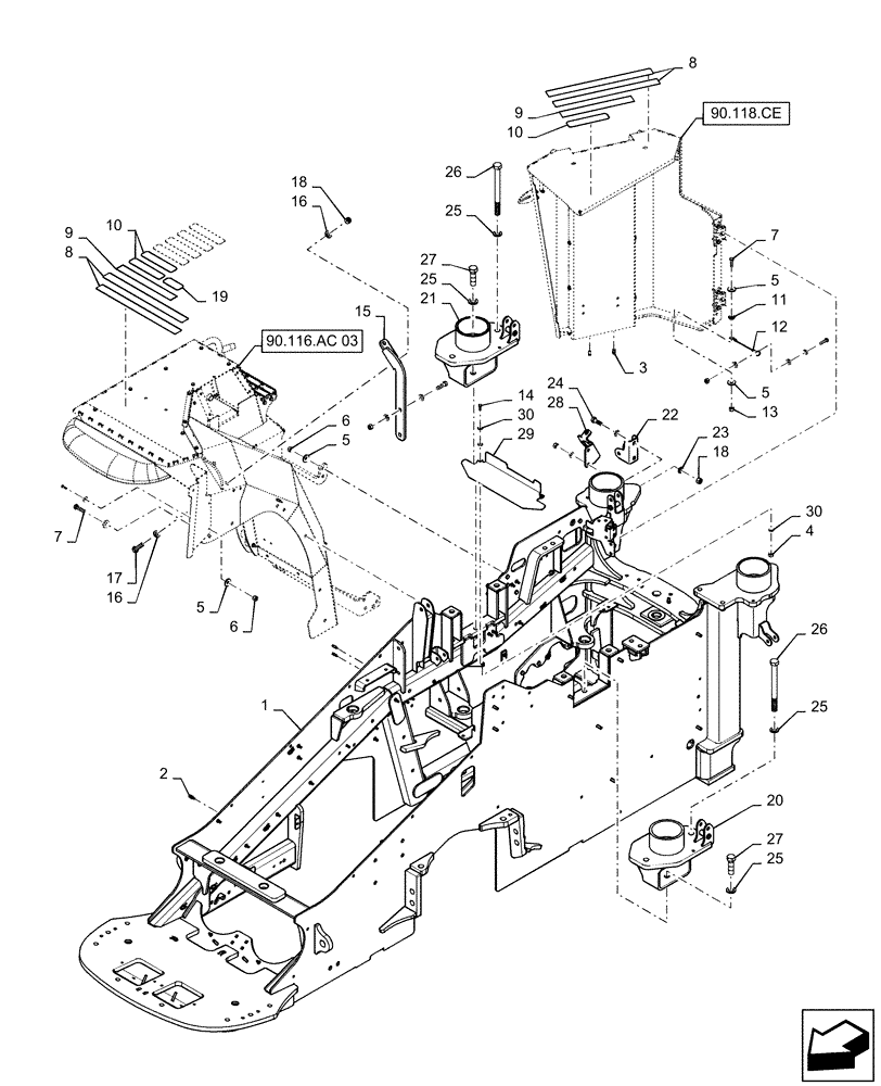
Запчасти Case IH QUADTRAC 370 (39.100.AY[01]) - FRONT FRAME, 370 (39) - FRAMES AND BALLASTING

Схема запчастей Case IH QUADTRAC 370 - (39.100.AY[01]) - FRONT FRAME, 370 (39) - FRAMES AND BALLASTING
17
12
1
7
23
24
26
19
5
25
90.116.ac 03
20
90.118.ce
16
25
9
26
5
5
4
18
16
15
3
18
22
10
6
27
6
29
25
10
27
2
7
30
25
14
8
11
9
30
21
28
5
13
8
FIT
1:1
100%

Артикул

Название

Примечание

Количество

1

84562427

FRAME

Front, Serial Range: ZEF400001-ZFF403000

1шт.

1

47699096

FRAME

Front, Start Serial: ZFF403001

1шт.

2

426285A1

STUD

Threaded, M8

36шт.

3

404287A1

INSERT,M6

Threaded, M6

2шт.

4

829-1408

NUT,Hex, M8 x 1.25, Cl 10.9

2шт.

5

896-15012

WASHER,13.5mm ID x 28mm OD x 4mm Thk

20шт.

6

829-1412

NUT,M12, Cl 10.9

14шт.

7

627-12045

BOLT,Hex, M12 x 1.75 x 45mm, Cl 10.9, Full Thd

3шт.

8

87307237

ANTI-SKID STRIP,2" x 23-1/4"

4шт.

9

26-211

ADHESIVE STRIP

Bulk, Cut To Length Of 16" Each

1шт.

10

D55216

PAD,2" x 9"

7шт.

11

47455748

BUSHING,12.65mm ID x 17.46mm OD x 4.2mm L

Retaining Cable

2шт.

12

47455742

CABLE,480mm L

Retaining

1шт.

13

832-10412

NUT,M12 x 1.75, Cl 8

1шт.

14

627-8025

BOLT,Hex, M8 x 1.25 x 25mm, Cl 10.9, Full Thd

2шт.

15

47646615

SUPPORT

RH Fender

1шт.

16

896-15016

WASHER,17.5mm ID x 34mm OD x 5mm Thk

8шт.

17

86900235

BOLT,Hex, M16 x 55mm, Cl 10.9, Full Thd

4шт.

18

829-1416

NUT,M16, Cl 10

6шт.

19

87750668

PAD,2" x 4-1/2"

Anti-Skid

1шт.

20

84515553

BRACKET, SUPPORTING

Cab Mount, LH Front

1шт.

21

84515558

BRACKET, SUPPORTING

Cab Mount, RH Front

1шт.

22

84485672

BRACKET

Damper

1шт.

23

896-11016

WASHER,17.5mm ID x 30mm OD x 4mm Thk

4шт.

24

627-16045

BOLT,Hex, M16 x 2 x 45mm, Cl 10.9, Full Thd

2шт.

25

896-11024

WASHER,26mm ID x 44mm OD x 5mm Thk

6шт.

26

827-24270

BOLT,Hex, M24 x 3 x 270mm, Cl 10.9

4шт.

27

827-24080

BOLT,Hex, M24 x 3 x 80mm, Cl 10.9

2шт.

28

84425151

BRACKET

DEF Fill

1шт.

29

84390461

PROTECTION PLATE

Shield

1шт.

30

896-15008

WASHER,9mm ID x 21mm OD x 2.5mm Thk

4шт.

Выбрано товаров: 31