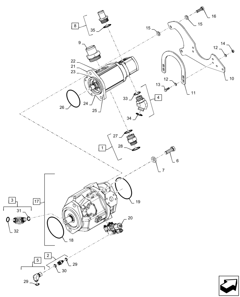
Запчасти Case IH QUADTRAC 470 (35.106.AD[01]) - VAR - 420301 - STANDARD HYDRAULIC PUMP (35) - HYDRAULIC SYSTEMS

Схема запчастей Case IH QUADTRAC 470 - (35.106.AD[01]) - VAR - 420301 - STANDARD HYDRAULIC PUMP (35) - HYDRAULIC SYSTEMS
24
12
30
3
35
11
21
7
13
9
27
17
28
10
29
4
8
2
23
26
22
34
16
33
20
31
5
6
18
15
15
32
19
29
25
12
14
1
FIT
1:1
100%

Артикул

Название

Примечание

Количество

1

201-122

HYD CONNECTOR,1 7/16"-12 ORFS x 1 5/8"-12 ORB

Incl 27 - 28

1шт.

2

201-125

HYD CONNECTOR,11/16"-16 ORFS x 7/16"-20 ORB

Incl 29 - 30

1шт.

3

201-306

90 ELBOW,90 Degree Elbow, 1" - 14 Male ORFS x 7/8" - 14 Male ORB

Incl 31 - 32

1шт.

4

201-376

ELBOW,45 Degree Elbow, 1-3/16" - 12 Male ORFS x 1-5/16" - 12 Male ORB

Incl 33 - 34

1шт.

5

701-319

ELBOW,90° Elbow, 11/16" - 16 Male ORFS x 11/16" - 16 Female ORFS

Incl 29

1шт.

6

627-16050

BOLT,Hex, M16 x 2 x 50mm, Cl 10.9, Full Thd

2шт.

7

86637955

WASHER,0.66" ID x 1.25" OD x 0.24" Thk

0.656" x 1.25" x 0.239", ZND

2шт.

8

217-178

FITTING,1-1/4" Hose Barb x 1-5/8" - 12 Male ORB

Incl 35

1шт.

9

84188435

HYD CONNECTOR,2-1/2” - 12 x 2-15/16” L

2" Hose Barb x 2-1/2" - 12

1шт.

10

84288313

BRACKET

Driveshaft Guard

1шт.

11

87419159

PLATE

Guard

1шт.

12

895-11008

WASHER,9mm ID x 16mm OD x 1.6mm Thk

8шт.

13

627-8025

BOLT,Hex, M8 x 1.25 x 25mm, Cl 10.9, Full Thd

4шт.

14

829-1408

NUT,Hex, M8 x 1.25, Cl 10.9

4шт.

15

896-11012

WASHER,13.5mm ID x 24mm OD x 3mm Thk

4шт.

16

627-12040

BOLT,Hex, M12 x 1.75 x 40mm, Cl 10.9, Full Thd

2шт.

17

87308197

PUMP

Main, Piston, 71CC, Incl 18 - 20, Serial Range: ZEF300001-ZEF300878

1шт.

17

87308197R

REMAN-HYD PUMP,71 CC

Reman for New PN 87308197

1шт.

17

87308197C

CORE-HYDRAULIC PUMP

Return Number

1шт.

17

47639534

PUMP

Main, Piston, 71CC, Incl 18 - 20, Start Serial: ZEF300879

1шт.

18

436514A1

O-RING

Mounting

1шт.

19

388293A1

SEAL KIT

Piston Pump

1шт.

20

87308198

PUMP

Piston Pump, Serial Range: ZEF300001-ZEF300878

1шт.

20

87308198R

REMAN-HYD VALVE

Piston Pump

1шт.

20

87308198C

CORE-VALVE HYD

Return Number

1шт.

20

47644696

COMPENSATOR

Piston Pump, Start Serial: ZEF300879

1шт.

21

84130469

HYDRAULIC PUMP,110 CC

Axle/Main Charge, Incl 22 - 25

1шт.

21

84130469R

REMAN-HYD PUMP

Axle/Main Charge

1шт.

21

84130469C

CORE-HYDRAULIC PUMP

Return Number

1шт.

22

84332623

SHAFT SEAL

Front Pump

1шт.

23

84332625

SEAL KIT

Front Pump Seal

1шт.

24

84332626

SEAL

Rear Pump

1шт.

25

84332632

KIT

Rear Pump Seal

1шт.

26

47545064

O-RING,100mm ID x 3mm Thk, Cl 5

3.0mm x 100.0mm, Charge Pump Mounting

1шт.

27

9824050

O-RING,0.07" Thk x 0.926" ID, -21, Cl 6, 90 Duro

1шт.

28

570186

O-RING,0.118" Thk x 1.475" ID, -920, Cl 6, 90 Duro

1шт.

29

9993141

O-RING,0.07" Thk x 0.364" ID, -12, Cl 6, 90 Duro

2шт.

30

165202

O-RING,0.072" Thk x 0.351" ID, -904, Cl 6, 90 Duro

1шт.

31

9992069

O-RING,0.07" Thk x 0.614" ID, -16, Cl 6, 90 Duro

1шт.

32

167269

O-RING,0.097" Thk x 0.755" ID, -910, Cl 6, 90 Duro

1шт.

33

9991976

O-RING,0.07" Thk x 0.739" ID, -18, Cl 6, 90 Duro

1шт.

34

167268

O-RING,0.116" Thk x 1.171" ID, -916, Cl 6, 90 Duro

1шт.

35

570186

O-RING,0.118" Thk x 1.475" ID, -920, Cl 6, 90 Duro

1шт.

Выбрано товаров: 43