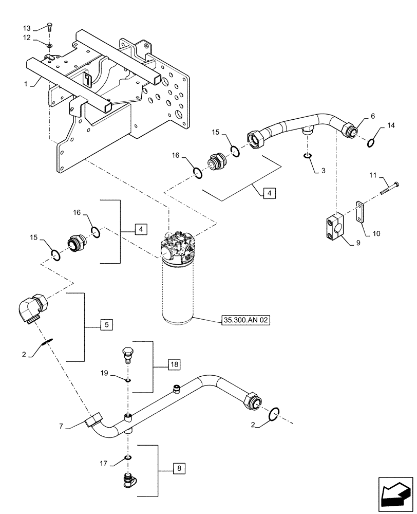
Запчасти Case IH QUADTRAC 470 (35.300.AN[01]) - VAR - 420301, 420302 - STANDARD HYDRAULIC OIL FILTER MOUNTING (35) - HYDRAULIC SYSTEMS

Схема запчастей Case IH QUADTRAC 470 - (35.300.AN[01]) - VAR - 420301, 420302 - STANDARD HYDRAULIC OIL FILTER MOUNTING (35) - HYDRAULIC SYSTEMS
35.300.an 02
12
16
7
4
6
15
2
9
18
15
17
1
4
19
5
2
8
3
11
16
14
13
10
FIT
1:1
100%

Артикул

Название

Примечание

Количество

1

47427422

SUPPORT

Hydraulic Valve Mount

1шт.

2

9840589

O-RING,0.07" Thk x 1.489" ID, -29, Cl 6, 90 Duro

2шт.

3

238-6021

O-RING,15/16 X 1 - 1/16, Cl 6

1шт.

4

86997863

HYD CONNECTOR,2" - 12 ORFS x M42 x 2 ORB

Incl 15 - 16

2шт.

5

84191685

ELBOW UNION,2" - 12 ORFS x 2" - 12

2"-12 ORFS, Incl 2

1шт.

6

84183779

HYD TUBE

Standard Filter Inlet

1шт.

7

84543519

HYD TUBE

Standard Filter Outlet

1шт.

8

358968A1

FITTING

Diagnostic, Incl 17

1шт.

9

8500621

BLOCK

Tube Mounting

2шт.

10

8500858

PLATE

Clamp Cover

2шт.

11

827-10080

BOLT,Hex, M10 x 1.5 x 80mm, Cl 10.9

4шт.

12

895-11010

WASHER,11mm ID x 20mm OD x 2mm Thk

4шт.

13

627-10025

BOLT,Hex, M10 x 1.5 x 25mm, Cl 10.9, Full Thd

4шт.

14

238-6025

O-RING,0.07" Thk x 1.176" ID, -25, Cl 6, 90 Duro

1шт.

15

238-6029

O-RING,0.07" Thk x 1.489" ID, -29, Cl 6, 90 Duro

3шт.

16

86598105

O-RING,2.9mm Thk x 38.6mm ID, Cl 6, 90 Duro

2шт.

17

86598101

O-RING,2.2mm Thk x 15.3mm ID, Cl 6, 90 Duro

1шт.

18

87521424

TEMPERATURE SENDER

Hydraulic Oil, Incl 19

1шт.

19

86639042

O-RING,2.2mm Thk x 11.3mm ID, Cl 6

1шт.

Выбрано товаров: 19