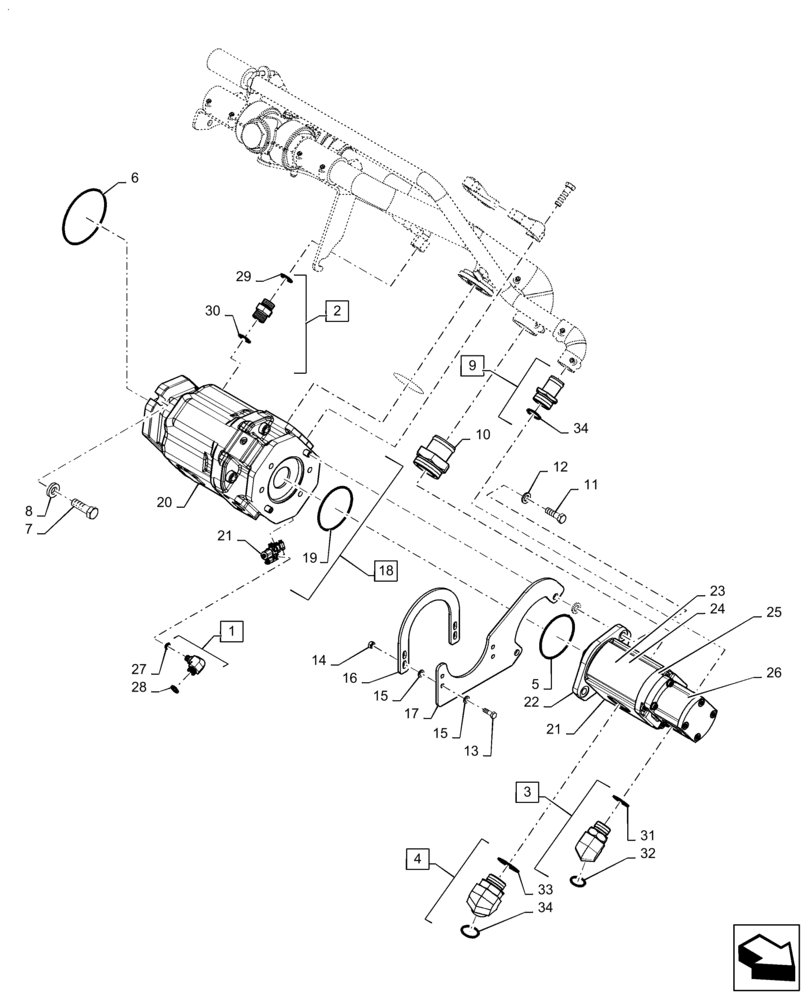
Запчасти Case IH QUADTRAC 470 (35.600.AI[03]) - HIGH CAPACITY HYDRAULIC PUMP (BSN ZGF309204) (35) - HYDRAULIC SYSTEMS

Схема запчастей Case IH QUADTRAC 470 - (35.600.AI[03]) - HIGH CAPACITY HYDRAULIC PUMP (BSN ZGF309204) (35) - HYDRAULIC SYSTEMS
17
29
1
14
21
30
6
19
9
20
8
28
21
18
15
11
12
23
33
31
16
22
24
5
26
34
15
7
25
4
3
13
27
34
10
32
2
FIT
1:1
100%

Артикул

Название

Примечание

Количество

1

201-311

ELBOW,90 Degree Elbow, 11/16" - 16 Male ORFS x 7/16" - 20 Male ORB

Incl 27 - 28

1шт.

2

201-131

HYD CONNECTOR,1"-12 ORFS x 9/16"-18 ORB

Incl 29 - 30

1шт.

3

201-355

ELBOW,90 Degree Elbow, 1-3/16" - 12 Male ORFS x 1-5/16" - 12 Male ORB

Incl 31 - 32

1шт.

4

201-371

ELBOW,45 Degree Elbow, 1-7/16" - 12 Male ORFS x 1-5/16" - 12 Male ORB

Incl 33 - 34

1шт.

5

47545064

O-RING,100mm ID x 3mm Thk, Cl 5

3.0mm x 100.0mm, Charge Pump Mounting

1шт.

6

238-5250

O-RING,0.139" Thk x 4.984" ID, -250, Cl 5, 75 Duro

1шт.

7

627-16050

BOLT,Hex, M16 x 2 x 50mm, Cl 10.9, Full Thd

2шт.

8

496-81022

WASHER

0.626" x 1.25" x 0.239", ZND

2шт.

9

217-178

FITTING,1-1/4" Hose Barb x 1-5/8" - 12 Male ORB

Incl 34

1шт.

10

84188435

HYD CONNECTOR,2-1/2” - 12 x 2-15/16” L

2" Hose Barb x 2-1/2" - 12

1шт.

11

627-12040

BOLT,Hex, M12 x 1.75 x 40mm, Cl 10.9, Full Thd

2шт.

12

896-11012

WASHER,13.5mm ID x 24mm OD x 3mm Thk

4шт.

13

627-8025

BOLT,Hex, M8 x 1.25 x 25mm, Cl 10.9, Full Thd

4шт.

14

829-1408

NUT,Hex, M8 x 1.25, Cl 10.9

4шт.

15

895-11008

WASHER,9mm ID x 16mm OD x 1.6mm Thk

8шт.

16

87419159

PLATE

Guard

1шт.

17

84288314

BRACKET

Driveshaft Guard

1шт.

18

87308196

PUMP

Main, Piston, 100CC, Incl 19 - 21, Serial Range: ZEF400001-ZEF400102

1шт.

18

87308196R

REMAN-HYD PUMP,100 CC

1шт.

18

87308196C

CORE-HYDRAULIC PUMP

Return Number

1шт.

18

47639533

PUMP

Main, Piston, 100CC, Incl 19 - 21, Start Serial: ZEF400103

1шт.

18

47639533R

REMAN-HYD PUMP

Main, Piston, 100CC, Start Serial: ZEF400103

1шт.

18

47639533C

CORE-HYDRAULIC PUMP

Return Number

1шт.

19

436514A1

O-RING

Piston Pump

1шт.

20

388292A1

SEAL KIT

Piston Pump

1шт.

21

87308198

PUMP

Piston Pump, Serial Range: ZEF400001-ZEF400102

1шт.

21

87308198R

REMAN-HYD VALVE

Piston Pump

1шт.

21

87308198C

CORE-VALVE HYD

Return Number

1шт.

21

47644696

COMPENSATOR

Piston Pump, Start Serial: ZEF400103

1шт.

22

84130469

HYDRAULIC PUMP,110 CC

Axle/Main Charge, Incl 23 - 26

1шт.

22

84130469R

REMAN-HYD PUMP

Axle/Main Charge

1шт.

22

84130469C

CORE-HYDRAULIC PUMP

Return Number

1шт.

23

84332623

SHAFT SEAL

Front Pump

1шт.

24

84332625

SEAL KIT

Front Pump Seal

1шт.

25

84332626

SEAL

Rear Pump

1шт.

26

84332632

KIT

Rear Pump Seal

1шт.

27

9993141

O-RING,0.07" Thk x 0.364" ID, -12, Cl 6, 90 Duro

1шт.

28

165202

O-RING,0.072" Thk x 0.351" ID, -904, Cl 6, 90 Duro

1шт.

29

9992069

O-RING,0.07" Thk x 0.614" ID, -16, Cl 6, 90 Duro

1шт.

30

167266

O-RING,0.116" Thk x 0.924" ID, -912, Cl 6, 90 Duro

1шт.

31

9991976

O-RING,0.07" Thk x 0.739" ID, -18, Cl 6, 90 Duro

1шт.

32

167268

O-RING,0.116" Thk x 1.171" ID, -916, Cl 6, 90 Duro

1шт.

33

9824050

O-RING,0.07" Thk x 0.926" ID, -21, Cl 6, 90 Duro

1шт.

34

570186

O-RING,0.118" Thk x 1.475" ID, -920, Cl 6, 90 Duro

2шт.

Выбрано товаров: 44