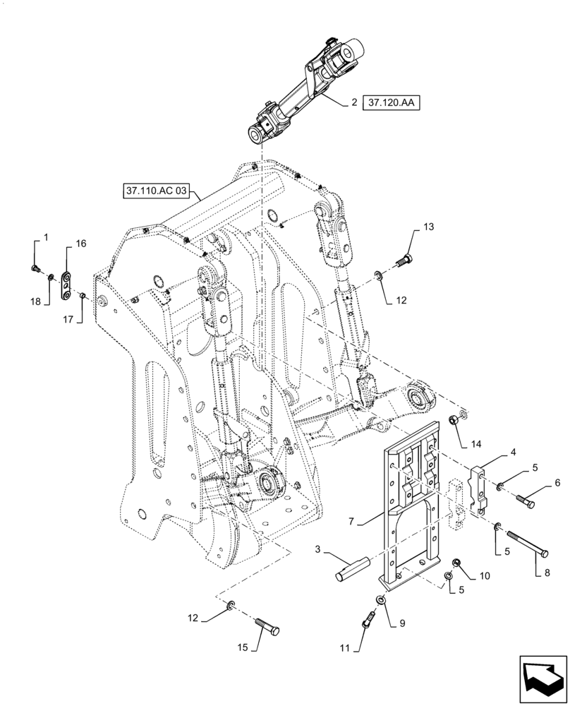
Запчасти Case IH QUADTRAC 470 (37.110.AC[02]) - 3 POINT HITCH MOUNTING, W/ PTO (37) - HITCHES, DRAWBARS & IMPLEMENT COUPLINGS

Схема запчастей Case IH QUADTRAC 470 - (37.110.AC[02]) - 3 POINT HITCH MOUNTING, W/ PTO (37) - HITCHES, DRAWBARS & IMPLEMENT COUPLINGS
4
5
12
12
37.110.ac 03
7
5
15
10
14
18
16
17
6
9
1
37.120.aa
2
3
11
8
13
5
FIT
1:1
100%

Артикул

Название

Примечание

Количество

1

627-16025

BOLT,Hex, M16 x 2 x 25mm, Cl 10.9, Full Thd

2шт.

2

84192702

LIFT LINK

Upper

1шт.

3

309663A1

PIN

Upper Link, 184mm Long

1шт.

4

403737A1

CLAMP

Pin Mount

2шт.

5

896-11020

WASHER,22mm ID x 37mm OD x 4mm Thk

16шт.

6

827-20080

BOLT,Hex, M20 x 2.5 x 80mm, Cl 10.9

6шт.

7

84261709

MOUNT

Upper Link, W/ PTO

1шт.

8

827-20230

BOLT,Hex, M20 x 2.5 x 230mm, Cl 10.9

8шт.

9

896-15020

WASHER,22mm ID x 44mm OD x 5mm Thk

2шт.

10

829-1420

NUT,M20, Cl 10

2шт.

11

827-20090

BOLT,Hex, M20 x 2.5 x 90mm, Cl 10.9

2шт.

12

896-11024

WASHER,26mm ID x 44mm OD x 5mm Thk

28шт.

13

627-24060

BOLT,Hex, M24 x 3 x 60mm, Cl 10.9, Full Thd

12шт.

14

829-1424

NUT,M24, Cl 10

12шт.

15

827-24110

BOLT,Hex, M24 x 3 x 110mm, Cl 10.9

4шт.

16

259389A1

PLATE

Upper Link Mounting

2шт.

17

70-5967T1

SPACER,16.7mm ID x 22.2mm OD x 11.2mm

2шт.

18

896-11016

WASHER,17.5mm ID x 30mm OD x 4mm Thk

2шт.

Выбрано товаров: 18