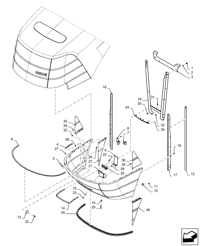
Запчасти Case IH QUADTRAC 470 (90.100.AU[02]) - FRONT GRILLE (90) - PLATFORM, CAB, BODYWORK AND DECALS

Схема запчастей Case IH QUADTRAC 470 - (90.100.AU[02]) - FRONT GRILLE (90) - PLATFORM, CAB, BODYWORK AND DECALS
17
1
27
5
37
26
16
28
3
35
32
2
15
10
18
9
15
39
30
13
11
4
33
29
31
21
8
34
19
38
39
24
23
22
25
20
7
12
14
36
6
26
32
FIT
1:1
100%

Артикул

Название

Примечание

Количество

1

844-10020

BOLT,Hvy Hex, M10 x 20mm, Cl 8.8

2шт.

2

895-15010

WASHER,11mm ID x 24mm OD x 2mm Thk

2шт.

3

47464258

BRACKET

Crossover

1шт.

4

47458719

SEALING STRIP,175mm L

Front Grille

2шт.

5

47458718

SEALING STRIP,100mm L

Front Grille

4шт.

6

47477616

PLATE

Hood Latch

1шт.

7

84347347

BRACKET

Hood Lock

1шт.

8

84347350

BRACKET

Hood Lock

1шт.

9

87440015

SEALING STRIP,15mm W x 1780mm L x 7.6mm Thk

Front Grille

3шт.

10

84171740

PLATE

Clip

4шт.

11

847-3616

SERRATED SCREW,Sl Truss, M6 x 16mm, Cl 10.9

2шт.

12

84171721

SEALING STRIP

Bulb, Hood

2шт.

13

84167057

GUIDE

Hood

2шт.

14

84197327

HANDLE

Hood Front

1шт.

15

896-15012

WASHER,13.5mm ID x 28mm OD x 4mm Thk

3шт.

16

84341426

BRACKET, SUPPORTING

Seal, RH

1шт.

17

84341427

BRACKET, SUPPORTING

Seal, LH

1шт.

18

844-6016

BOLT,Hvy Hex, M6 x 16mm, Cl 8.8

11шт.

19

47650287

SUPPORT

Grille, Front

1шт.

20

84394414

LATCH

Hood

1шт.

21

47477608

STRIKER PLATE

Hood Latch, Serial Range: -ZGF306105

1шт.

21

47892744

STRIKER PLATE

Hood Latch, Start Serial: ZGF308669

1шт.

22

87556445

BOLT

Striker

1шт.

23

832-46412

NUT,M12 x 1.75, Cl 8

1шт.

24

87498055

PLATE

Trigger Support

1шт.

25

84197326

SEAL

Lower Grille

1шт.

26

825-2406

FLANGE NUT,M6 x 1, Cl 8.8

25шт.

27

833-40306

SPRING NUT,M6, U

12шт.

28

86511442

BOLT,Hex Serr, M6 x 1 x 20mm

4шт.

29

827-12050

BOLT,Hex, M12 x 1.75 x 50mm, Cl 10.9

2шт.

30

844-8020

BOLT,Hvy Hex, M8 x 20mm, Cl 8.8

2шт.

31

844-8016

BOLT,Hex, M8 x 16mm, Cl 8.8

5шт.

32

825-2408

FLANGE NUT,M8 x 1.25, Flg, Cl 8

4шт.

33

844-8025

BOLT,Hvy Hex, M8 x 25mm, Cl 8.8

2шт.

34

131-407

LOCK NUT,Pal, 3/8" - 16, 0.145" High

4шт.

35

84197331

PANEL

Upper RH

1шт.

36

84197332

PANEL

Upper LH

1шт.

37

84197333

PANEL

Lower RH

1шт.

38

84197334

PANEL

Lower LH

1шт.

39

844-6020

BOLT,Hvy Hex, M6 x 20mm, Cl 8.8

12шт.

Выбрано товаров: 40