Запчасти Case IH QUADTRAC 540 (35.106.AD[01]) - STANDARD HYDRAULIC PUMP, QUADTRAC 450, 470, 500 HD, 540 HD (35) - HYDRAULIC SYSTEMS

Схема запчастей Case IH QUADTRAC 540 - (35.106.AD[01]) - STANDARD HYDRAULIC PUMP, QUADTRAC 450, 470, 500 HD, 540 HD (35) - HYDRAULIC SYSTEMS
21
2
32
29
34
14
15
31
5
4
16
1
12
13
28
23
9
11
19
6
30
17
10
30
26
33
8
24
20
27
25
22
3
18
7
15
FIT
1:1
100%

Артикул

Название

Примечание

Количество

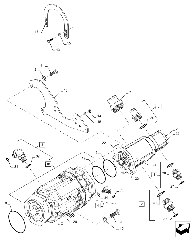
1

201-129

HYD CONNECTOR,1-3/16" - 12 ORFS x 1-5/16" - 12 ORB

Incl 27 - 28

1шт.

2

201-122

HYD CONNECTOR,1 7/16"-12 ORFS x 1 5/8"-12 ORB

Incl 29 - 30

1шт.

3

201-306

90 ELBOW,90 Degree Elbow, 1" - 14 Male ORFS x 7/8" - 14 Male ORB

Incl 31 - 32

1шт.

4

201-311

ELBOW,90 Degree Elbow, 11/16" - 16 Male ORFS x 7/16" - 20 Male ORB

Incl 33 - 34

1шт.

5

47545064

O-RING,100mm ID x 3mm Thk, Cl 5

Charge Pump Mounting

1шт.

6

217-178

FITTING,1-1/4" Hose Barb x 1-5/8" - 12 Male ORB

Incl 30

1шт.

7

84188435

HYD CONNECTOR,2-1/2” - 12 x 2-15/16” L

2" Hose Barb x 2-1/2" - 12

1шт.

8

238-5250

O-RING,0.139" Thk x 4.984" ID, -250, Cl 5, 75 Duro

1шт.

9

627-16050

BOLT,Hex, M16 x 2 x 50mm, Cl 10.9, Full Thd

2шт.

10

496-81022

WASHER

0.626" x 1.250" x 0.239", ZND

2шт.

11

627-12040

BOLT,Hex, M12 x 1.75 x 40mm, Cl 10.9, Full Thd

2шт.

12

896-11012

WASHER,13.5mm ID x 24mm OD x 3mm Thk

4шт.

13

627-8025

BOLT,Hex, M8 x 1.25 x 25mm, Cl 10.9, Full Thd

4шт.

14

829-1408

NUT,Hex, M8 x 1.25, Cl 10.9

4шт.

15

895-11008

WASHER,9mm ID x 16mm OD x 1.6mm Thk

8шт.

16

84288313

BRACKET

Driveshaft Guard

1шт.

17

87419159

PLATE

Shield

1шт.

18

87308197

PUMP

Piston, 71 CC, Incl 19 - 21, Serial Range: ZEF300001-ZEF300878

1шт.

18

87308197R

REMAN-HYD PUMP,71 CC

Reman for New PN 87308197

1шт.

18

87308197C

CORE-HYDRAULIC PUMP

Return Number

1шт.

18

47639534

PUMP

Piston, 71 CC, Incl 19 - 21, Start Serial: ZEF300879

1шт.

19

436514A1

O-RING

Piston Pump

1шт.

20

388293A1

SEAL KIT

Piston Pump

1шт.

21

87308198

PUMP

Piston Pump, Serial Range: ZEF300001-ZEF300878

1шт.

21

87308198R

REMAN-HYD VALVE

Piston Pump

1шт.

21

87308198C

CORE-VALVE HYD

Return Number

1шт.

21

47644696

COMPENSATOR

Piston Pump, Start Serial: ZEF300879

1шт.

22

84130469

HYDRAULIC PUMP,110 CC

Axle/Main Charge, Incl 23 - 26

1шт.

22

84130469R

REMAN-HYD PUMP

Axle/Main Charge

1шт.

22

84130469C

CORE-HYDRAULIC PUMP

Return Number

1шт.

23

84332623

SHAFT SEAL

Front Pump

1шт.

24

84332625

SEAL KIT

Seal, Front Pump

1шт.

25

84332626

SEAL

Rear Pump

1шт.

26

84332632

KIT

Seal, Rear Pump

1шт.

27

9991976

O-RING,0.07" Thk x 0.739" ID, -18, Cl 6, 90 Duro

1шт.

28

167268

O-RING,0.116" Thk x 1.171" ID, -916, Cl 6, 90 Duro

1шт.

29

9824050

O-RING,0.07" Thk x 0.926" ID, -21, Cl 6, 90 Duro

1шт.

30

570186

O-RING,0.118" Thk x 1.475" ID, -920, Cl 6, 90 Duro

2шт.

31

9992069

O-RING,0.07" Thk x 0.614" ID, -16, Cl 6, 90 Duro

1шт.

32

167269

O-RING,0.097" Thk x 0.755" ID, -910, Cl 6, 90 Duro

1шт.

33

9993141

O-RING,0.07" Thk x 0.364" ID, -12, Cl 6, 90 Duro

1шт.

34

165202

O-RING,0.072" Thk x 0.351" ID, -904, Cl 6, 90 Duro

1шт.

Выбрано товаров: 0