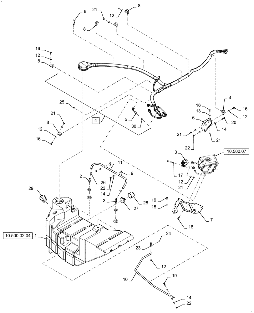
Запчасти Case IH QUADTRAC 550 (10.500.02[01]) - SCR TANK AND PLUMBING - QUADTRAC - BSN ZBF126280 (10) - ENGINE

Схема запчастей Case IH QUADTRAC 550 - (10.500.02[01]) - SCR TANK AND PLUMBING - QUADTRAC - BSN ZBF126280 (10) - ENGINE
10.500.07
6
16
22
22
8
30
8
25
3
14
8
16
12
23
12
9
16
20
12
26
14
15
1
5
19
21
2
22
12
28
4
8
17
21
21
10
21
24
8
7
13
14
11
16
29
18
27
2
8
19
12
21
12
10.500.02 04
FIT
1:1
100%

Артикул

Название

Примечание

Количество

1

84367421

TANK

DEF, 245L

1шт.

2

84226504

ELBOW

Male 1/2 NPTF

2шт.

3

84151635

HEATER VALVE

Heater

1шт.

4

84346279

HOSE ASSY.

Hose Assembly, DEF Bundle, Incl 5, 30, Seals NSS

1шт.

5

84263625

HOSE ASSY.

DEF Inline Filter Supply

1шт.

6

84346320

BRACKET, SUPPORTING

DEF Hose

1шт.

7

84328027

BRACKET, SUPPORTING

SCR SM Support

1шт.

8

515-23412

CLAMP,1 5/8", Insul, 3/8" Bolt

7шт.

9

515-24206

CLAMP,13/16", Insul, 7/16" Bolt

2шт.

10

84295128

BRACKET, SUPPORTING

Support, DEF Tank

1шт.

11

84227650

HOSE ASSY.

DEF Tank Vent

1шт.

12

895-11008

WASHER,9mm ID x 16mm OD x 1.6mm Thk

14шт.

13

895-15008

WASHER,9mm ID x 20mm OD x 1.6mm Thk

2шт.

14

895-11010

WASHER,11mm ID x 20mm OD x 2mm Thk

8шт.

15

895-15010

WASHER,11mm ID x 24mm OD x 2mm Thk

4шт.

16

627-8025

BOLT,Hex, M8 x 1.25 x 25mm, Cl 10.9, Full Thd

4шт.

17

827-8070

BOLT,Hex, M8 x 1.25 x 70mm, Cl 10.9

3шт.

18

844-8025

BOLT,Hvy Hex, M8 x 25mm, Cl 8.8

4шт.

19

627-10025

BOLT,Hex, M10 x 1.5 x 25mm, Cl 10.9, Full Thd

5шт.

20

627-10035

BOLT,Hex, M10 x 1.5 x 35mm, Cl 10.9, Full Thd

2шт.

21

829-1408

NUT,Hex, M8 x 1.25, Cl 10.9

8шт.

22

829-1410

NUT,M10 x 1.5, Cl 10.9

5шт.

23

728-840

CLEVIS PIN,M8 x 40

1шт.

24

733-1616

COTTER PIN,M1.6 x 16

1шт.

25

214-1406

HOSE CLAMP,#06, 0.44" - 0.78", Type F Worm

2шт.

26

214-1712

HOSE CLAMP,17.53mm - 31.75mm

2шт.

27

L115549

CLAMP,69.85mm - 92.08mm

Hose, Constant Torque

1шт.

28

84416463

CAP

DEF Tank

1шт.

29

84206552

FILLER CAP,Male

UREA Tank

1шт.

30

84367903

FILTER

Element, DEF Inline

1шт.

Выбрано товаров: 30