Запчасти Case IH QUADTRAC 620 (55.911.AD) - GPS RECEIVER (55) - ELECTRICAL SYSTEMS

Схема запчастей Case IH QUADTRAC 620 - (55.911.AD) - GPS RECEIVER (55) - ELECTRICAL SYSTEMS
3
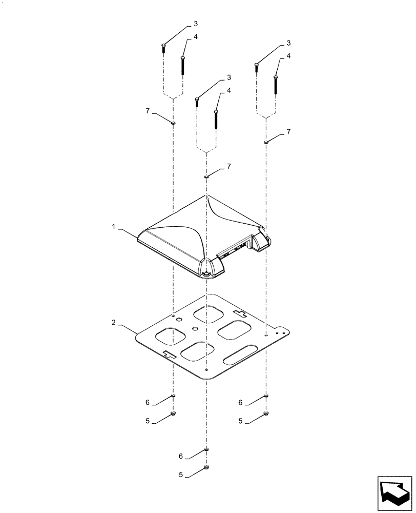
5
7
2
4
5
5
6
3
4
6
7
3
4
1
7
6
FIT
1:1
100%

Артикул

Название

Примечание

Количество

1

84574271

GPS RECEIVER

AFS 372, ROW W/E/V

1шт.

1

84574271R

REMAN ELECT CONTROL

AFS 372, ROW W/E/V

1шт.

1

84574271C

CORE-ELECTRONIC CONT

Return Number

1шт.

1

84574273

GPS RECEIVER

AFS 372, ROW W/E/V/HP/XP

1шт.

2

87496985

MOUNTING PLATE

GPS Receiver

1шт.

3

86977786

BOLT,Hex, M6 x 1 x 25mm, Cl 8.8

3шт.

4

338413

BOLT,Hex, M6 x 60mm, Cl 8.8

3шт.

5

86511444

FLANGE NUT,Hex, M6 x 1

3шт.

6

86517328

LOCK WASHER,6.1mm ID x 11.8mm OD x 1.7mm Thk

3шт.

7

86588450

WASHER,6.6mm ID x 12mm OD x 1.6mm Thk

3шт.

Выбрано товаров: 10