Запчасти Case IH 9110 (02-09) - INSTRUMENT PANEL AND MOUNTING, ROPS POST GAUGES (06) - ELECTRICAL

Схема запчастей Case IH 9110 - (02-09) - INSTRUMENT PANEL AND MOUNTING, ROPS POST GAUGES (06) - ELECTRICAL
10
3
4
12
27
21
2
23
14
7
3
13
28
15
5
18
19
6
25
5
17
5
22
9
24
22
18
2
11
19
2
1
8
10
10
20
5
24
27
21
20
16
23
FIT
1:1
100%

Артикул

Название

Примечание

Количество

1

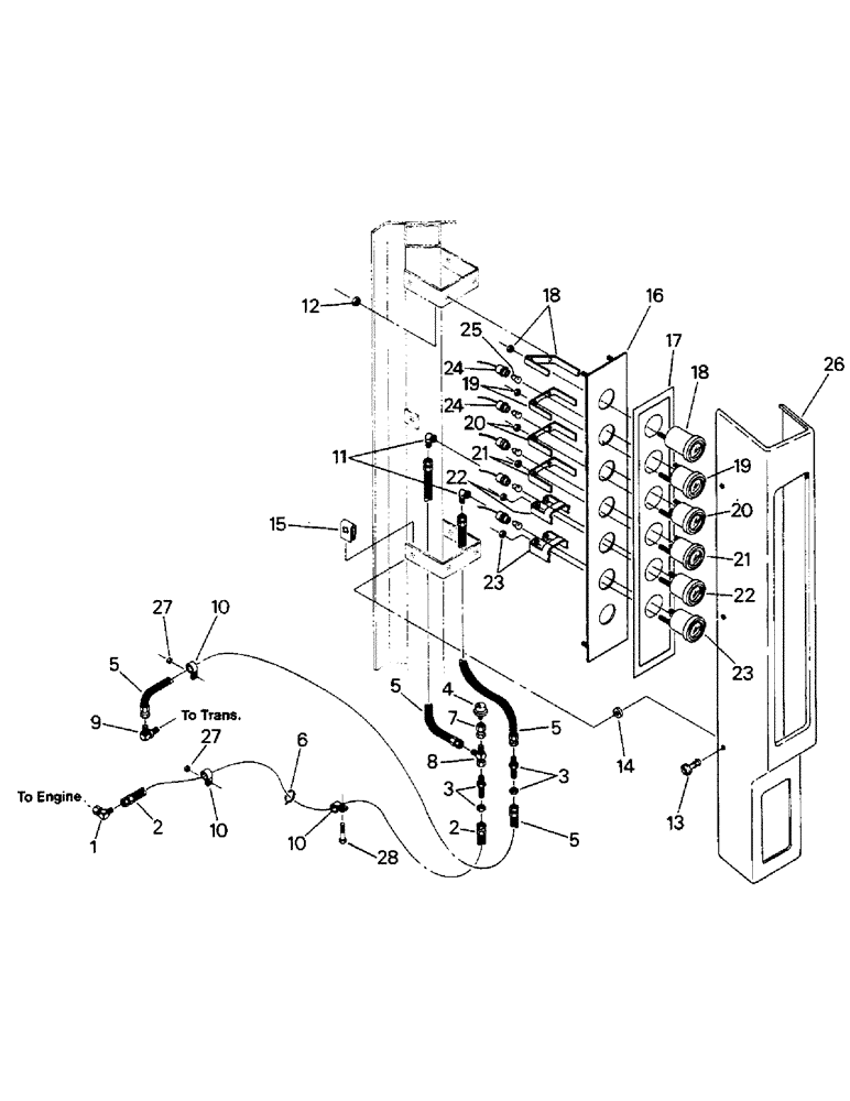
9410278

ELBOW,90 Degree, 7/16"-20, 37 Degree x 7/16"-20, 37 Degree Fem Sw

- 7/16-20 JIC 37 degree female x 7/16-20 JIC 37 degree male

1шт.

2

31-2155

HOSE

1шт.

3

31-1391

FITTING,Blkhd, 7/16"-20, 37 Degree x 7/16"-20, 37 Degree

CONNECTOR - bulkhead, 7/16-20 JIC 37 degree female x 7/16-20 JIC 37 degree male

2шт.

4

1-2805

SWITCH

- engine oil pressure

1шт.

5

31-2784

HOSE

3шт.

6

50-2037T1

STRAP

- nylon

1шт.

7

31-2741

HYD CONNECTOR,37 Degree, Sw, 7/16"-20 x 1/8"-27 NPTF

CONNECTOR, 7/16-20 JIC 37 degree female x 1/8 NPT female

1шт.

8

31-2158

TEE,37 Degree, 7/16"-20, x 7/16"-20, Fem Sw Run

7/16-20 JIC 37 degree female x 7/16-20 JIC 37 degree female x 7/16-20 JIC 37 degree male

1шт.

9

18-1538

ELBOW,90 Degree, 7/16"-20, 37 Degree x 7/16"-20, O-Ring

(4), 7/16-20 o-ring boss x 7/16-20 JIC 37 degree male

1шт.

10

31-1776

MOUNTING CLIP

CLAMP - hose

3шт.

11

31-2740

ELBOW

1/8 NPT male x 7/16-20 45 degree male brass

2шт.

12

9411893

LOCK NUT,#10-32, GB

NUT - lock, No. 10 UNF G-A

4шт.

13

19-6136

STUD

- quarter turn

5шт.

14

19-5668

WASHER

1/4 x 3/4 x 3/16 thk

5шт.

15

19-6137

CONTAINER

RECEPTACLE - quarter turn

5шт.

60-5960T91

PANEL

ASSEMBLY - gauge (With gray interiors), Includes: Ref. 16 - 25

1шт.

60-5788T91

PANEL

ASSEMBLY - gauge (With tan interiors), Includes: Ref. 16 - 25

1шт.

16

20-5756T1

PANEL - gauge mounting

1шт.

17

60-5939T1

DECAL

- gauge panel (With gray interiors)

1шт.

60-5760T1

DECAL

- gauge panel (With tan interiors)

1шт.

18

20-2018T1

HOURMETER

GAUGE - hourmeter

1шт.

19

20-2466T1

VOLTMETER

GAUGE - voltmeter

1шт.

20

20-2464T1

FUEL GAUGE

GAUGE - fuel level

1шт.

21

20-465T1

GAUGE - engine water temp.

1шт.

22

20-2468T1

GAUGE

- engine oil pressure

1шт.

23

20-2467T1

GAUGE

- transmission oil pres.

1шт.

24

20-2442T1

HARNESS

- instrument panel lighting

1шт.

25

22-717

LAMP

BULB - lamp (No. 1893)

6шт.

26

60-5940T1

COVER

- gauge panel (With gray interior)

1шт.

60-5755T1

COVER

- gauge panel (With tan interior)

1шт.

27

19-76

NUT,1/4"-20, G5

1/4 UNC G-B

2шт.

28

19-39

BOLT,5/16" - 18 x 1 3/4", Gr 5

CAPSCREW, 5/16 UNC x 1-3/4 G5

1шт.

Выбрано товаров: 0