Запчасти Case IH 9110 (08-09) - HYDRAULIC TANK AND MOUNTING (07) - HYDRAULICS

Схема запчастей Case IH 9110 - (08-09) - HYDRAULIC TANK AND MOUNTING (07) - HYDRAULICS
13
11
14
3
8
7
13
7
2
7
10
14
4
5
1
9
12
6
FIT
1:1
100%

Артикул

Название

Примечание

Количество

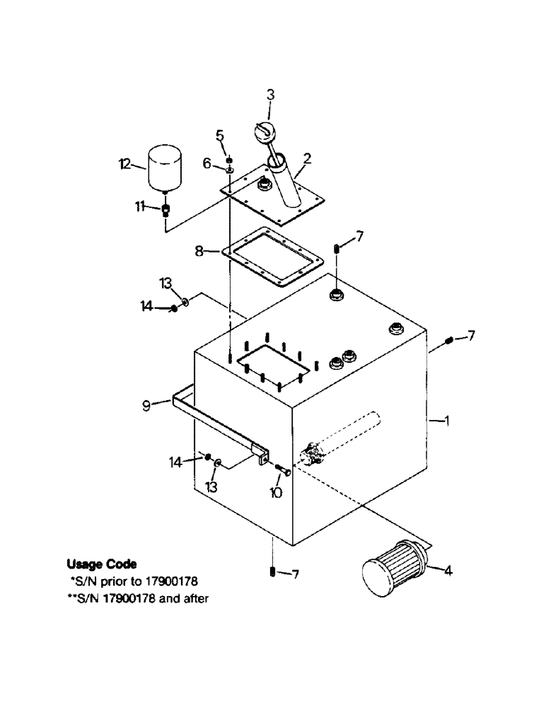
1

50-2766T1

RESERVOIR, HYDRAULIC

TANK - hydraulic, Serial Range: -17900178

1шт.

Old part must be used prior to serial number break. New part will work after serial number break only.

1шт.

50-3054T1

RESERVOIR, HYDRAULIC

TANK - hydraulic, Start Serial: 17900178

1шт.

Old part must be used prior to serial number break. New part will work after serial number break only.

1шт.

2

50-2509T1

PLATE

COVER - tank fill, Serial Range: -17900178

1шт.

Old part must be used prior to serial number break. New part will work after serial number break only.

1шт.

50-3051T1

PLATE

COVER - tank fill, Start Serial: 17900178

1шт.

Old part must be used prior to serial number break. New part will work after serial number break only.

1шт.

3

50-2558T1

DIPSTICK

- oil check

1шт.

4

50-2029T1

FILTER SCREEN

SCREEN - suction filter

1шт.

50-1509T1

FILTER

SCREEN - suction filter (Interchangeable with P/N 50-2029T1)

1шт.

5

19-78

SPECIAL NUT,3/8"-16, G5

3/8 UNC G-B

10шт.

6

19-224

WASHER,3/8", SAE

- flat, 3/8

10шт.

7

31-35

PLUG

- pipe, 1/2 NPT (Quantity 3 with 3-pt hitch)

6шт.

8

50-2429T1

GASKET

- cover

1шт.

9

50-2881T1

BAND

- mounting, Serial Range: -17900178

1шт.

Old part must be used prior to serial number break. New part will work after serial number break only.

1шт.

50-3058T1

BAND

- mounting, Start Serial: 17900178

1шт.

Old part must be used prior to serial number break. New part will work after serial number break only.

1шт.

10

19-17

BOLT,Hex, 3/8" - 16 x 1", Gr 5, Full Thd

CAPSCREW, 3/8 UNC x 1 G-5

1шт.

11

31-1872

ADAPTER,1/2"-14 Male NPTF x 1/2"-14 Female NPTF

1/2 NPT male x 1/2 NPT female (Use with early cover only)

1шт.

12

18-503

FILTER

- air pressure

1шт.

18-1633

BREATHER

ELEMENT - filter

1шт.

13

19-107

WASHER

- flat, 3/8

2шт.

14

19-341

LOCK NUT,3/8" - 16, GB

NUT - lock, 3/8 UNC G-A

2шт.

Выбрано товаров: 25