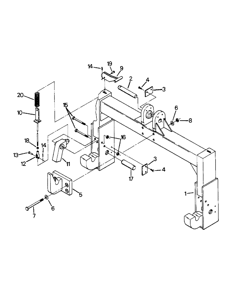
Запчасти Case IH 9110 (10-05) - QUICK HITCH AND MOUNTING Options & Miscellaneous

Схема запчастей Case IH 9110 - (10-05) - QUICK HITCH AND MOUNTING Options & Miscellaneous
12
3
1
6
3
2
4
14
7
10
6
5
16
17
20
13
19
15
8
14
4
9
11
18
FIT
1:1
100%

Артикул

Название

Примечание

Количество

1

70-4305T2

FAST HITCH

HITCH - quick attachment

1шт.

2

70-4256T1

PIN

- upper hitch

1шт.

3

70-3082T2

LARGE PLATE

RETAINER - pin

3шт.

4

19-1108

BOLT,Hex, 1/2" - 13 x 1", Gr 8

CAPSCREW, 1/2 UNC x 1 G-8

6шт.

5

70-4317T2

HOOK

- quick attachment

1шт.

6

19-6120

WASHER

- flat, hardened, 7/8 x 1-3/4 x 5/32 thk

8шт.

7

9430319

SCREW,7/8" - 9 x 6 1/2"

CAPSCREW, 7/8 UNC x 6-1/2 G-8

4шт.

8

9422309

LOCK NUT,7/8"-9, GC

NUT - lock, 7/8 UNC G-C

4шт.

9

70-4320T1

HANDLE

- release

2шт.

10

70-4324T1

THREADED ROD

LINK - catch release

2шт.

11

70-4328T1

CATCH

- implement

2шт.

12

19-139

YOKE

- clevis

2шт.

13

19-145

CLEVIS PIN,3/8" x 1.06"

PIN - clevis, 3/8 x 1

2шт.

14

19-124

COTTER PIN,3/32" x 1"

Pin, Split (Cotter), 3/32" x 1"

4шт.

15

19-556

BOLT,5/8" - 11 x 4 1/2", Gr 5

CAPSCREW, 5/8 UNC x 4-1/2 G-5

4шт.

16

19-222

LOCK NUT,5/8" - 11, GB

NUT - lock, 5/8 UNC G-B

4шт.

17

70-4293T1

PIN,36.5mm OD x 125.73mm L

- lower hitch

2шт.

18

19-868

JAM NUT,Jam, 3/8"-24, G5

- jam, 3/8 UNF G-B

2шт.

19

19-5423

CLEVIS PIN

3/8 x 7/8"

2шт.

20

70-4340T1

COMPRESSION SPRING

2шт.

Выбрано товаров: 0