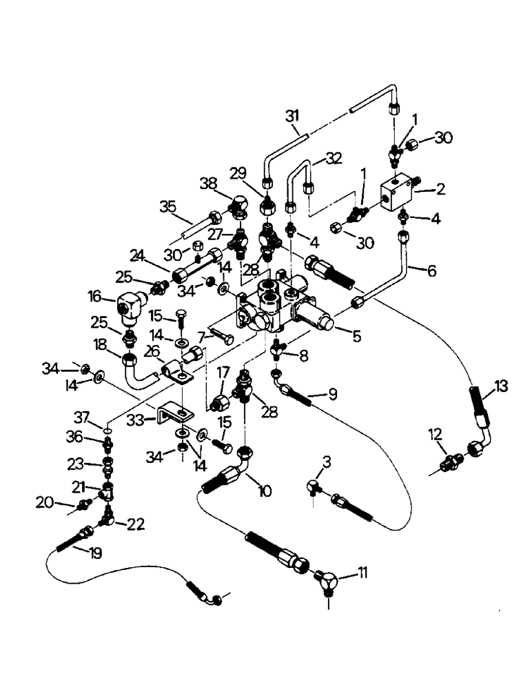
Запчасти Case IH 9110 (10-08) - THREE POINT HYDRAULIC SYSTEM, CONTROL VALVE END Options & Miscellaneous

Схема запчастей Case IH 9110 - (10-08) - THREE POINT HYDRAULIC SYSTEM, CONTROL VALVE END Options & Miscellaneous
8
1
34
28
4
23
20
27
29
6
31
37
24
9
30
28
15
33
30
4
21
22
14
25
2
35
10
13
1
17
12
16
25
5
26
19
15
3
14
38
36
34
32
34
18
14
4
30
7
11
FIT
1:1
100%

Артикул

Название

Примечание

Количество

1

31-1319

TEE,9/16"-18, 37 Degree x 9/16"-18, O-Ring Run

(6), 9/16-18 o-ring boss x 9/16-18 JIC 37 degree male x 9/16- 18 JIC 37 degree male

2шт.

2

VALVE ASSEMBLY - pressure reducing (See Fig. 10-11)

1шт.

3

31-528

ELBOW,90 Degree, 9/16"-18, 37 Degree x 1/2"-14, NPTF

- 1/2 NPT male x 9/16-18 JIC 37 degree male

1шт.

4

1-3211

HYD CONNECTOR,9/16"-18, 37 Degree x 9/16"-18, O-Ring

ADAPTER (6), 9/16-18 o-ring boss x 9/16-18 JIC 37 degree male

2шт.

5

VALVE ASSEMBLY - solenoid (See Fig. 10-12)

1шт.

6

50-2544T1

TUBE

- solenoid to reducing valve

1шт.

7

19-19

BOLT,Hex, 3/8" - 16 x 1 1/2", Gr 5

CAPSCREW, 3/8 UNC x 1-1/2 G-5

3шт.

8

31-332

TEE,9/16"-18, 37 Degree x 3/8"-18, NPTF Run

3/8 NPT male x 9/16-18 JIC 37 degree male x 9/16-18 JIC 37 degree male

1шт.

9

31-2459

HOSE

-, Serial Range: solenoid-tank

1шт.

10

31-2678

HOSE ASSY.

HOSE -, Serial Range: solenoid-tank

1шт.

11

31-1475

ELBOW,90 Degree, 1 1/16"-12, 37 Degree x 1/2"-14, NPTF

- 1/2 NPT male x 1-1/16-12 JIC 37 degree male

1шт.

12

18-783

HYD CONNECTOR,1 1/16"-12, 37 Degree x 1 1/16"-12, O-Ring

ADAPTER (12), 1-1/16-12 o-ring boss x 1-1/16-12 JIC 37 degree male

1шт.

13

31-2674

HOSE ASSY.

HOSE - solenoid to control valve

1шт.

14

19-107

WASHER

- flat, 3/8

7шт.

15

19-17

BOLT,Hex, 3/8" - 16 x 1", Gr 5, Full Thd

CAPSCREW, 3/8 UNC x 1 G-5

2шт.

16

VALVE ASSEMBLY - relief (See Fig. 10-13)

1шт.

17

60-66

REDUCER

- 1-1/16-12 JIC 37 degree female x 7/8-14 JIC 37 degree male

1шт.

18

50-2864T1

TUBE

- solenoid to relief valve

1шт.

19

31-2332

HOSE ASSY.

HOSE - shuttle valve to solenoid valve

1шт.

20

18-1539

HYD CONNECTOR,7/16"-20, 37 Degree x 7/16"-20, O-Ring

ADAPTER (4), 7/16-20 o-ring boss x 7/16-20 JIC 37 degree male

1шт.

21

31-1778

VALVE

- shuttle

1шт.

22

18-1538

ELBOW,90 Degree, 7/16"-20, 37 Degree x 7/16"-20, O-Ring

(4), 7/16-20 o-ring boss x 7/16-20 JIC 37 degree male

1шт.

23

31-2146

CONNECTING ROD

REDUCER (4), 7/16-20 o-ring boss x 1/4 NPT female

1шт.

24

50-2863T1

TUBE

- solenoid to shuttle valve

1шт.

25

18-570

HYD CONNECTOR,7/8"-14, 37 Degree x 7/8"-14, O-Ring

ADAPTER (10), 7/8-14 o-ring boss x 7/8-14 JIC 37 degree male

2шт.

26

32-310

CLAMP

- tube

1шт.

27

18-586

TEE,7/8"-14, 37 Degree x 7/8"-14, O-Ring Run

(10), 7/8-14 o-ring boss x 7/8-14 JIC 37 degree male x 7/8-14 JIC 37 degree male

1шт.

28

18-606

TEE,1 1/16"-12, 37 Degree x 1 1/16"-12, O-Ring run

(12), 1-1/16-12 o-ring boss x 1-1/16-12 JIC 37 degree male x 1-1/16-12 JIC 37 degree male

2шт.

29

31-1755

REDUCER,37º, 1 1/16"-12, Fem x 9/16"-18 Male

1-1/16-12 JIC 37 female x 9/16-18 JIC 37 degree male

1шт.

30

9403371

CAP,37 Degree, 9/16"-18

NUT - cap, 9/16-18 JIC 37 degree

3шт.

31

50-2546T1

TUBE

- solenoid to reducing valve

1шт.

32

50-2545T1

TUBE

- solenoid to reducing valve

1шт.

33

50-2865T1

BRACKET

- clamp mounting

1шт.

34

19-341

LOCK NUT,3/8" - 16, GB

NUT - lock, 3/8 UNC G-B

5шт.

35

50-2923T1

TUBE

-, Serial Range: solenoid-cylinder

1шт.

36

31-377

HYD CONNECTOR,9/16"-18, 37 Degree x 1/4"-18, NPTF

ADAPTER, 1/4 NPT male x 9/16-18 37 degree male

1шт.

37

31-1099

O-RING,0.078" Thk x 0.468" ID, -906, Cl 6, 90 Duro

(6) - fitting 6-1, 90 Duro, .468" ID x .078" Thk

1шт.

38

31-455

ELBOW

- 7/8-14 JIC 37 degree female x 7/8-14 JIC 37 degree male

1шт.

Выбрано товаров: 0