Запчасти Case IH 9110 (06-5) - REAR FRAME (12) - FRAME

Схема запчастей Case IH 9110 - (06-5) - REAR FRAME (12) - FRAME
10
7
12
15
17
3
9
5
11
5
14
4
16
7
1
8
13
2
6
4
FIT
1:1
100%

Артикул

Название

Примечание

Количество

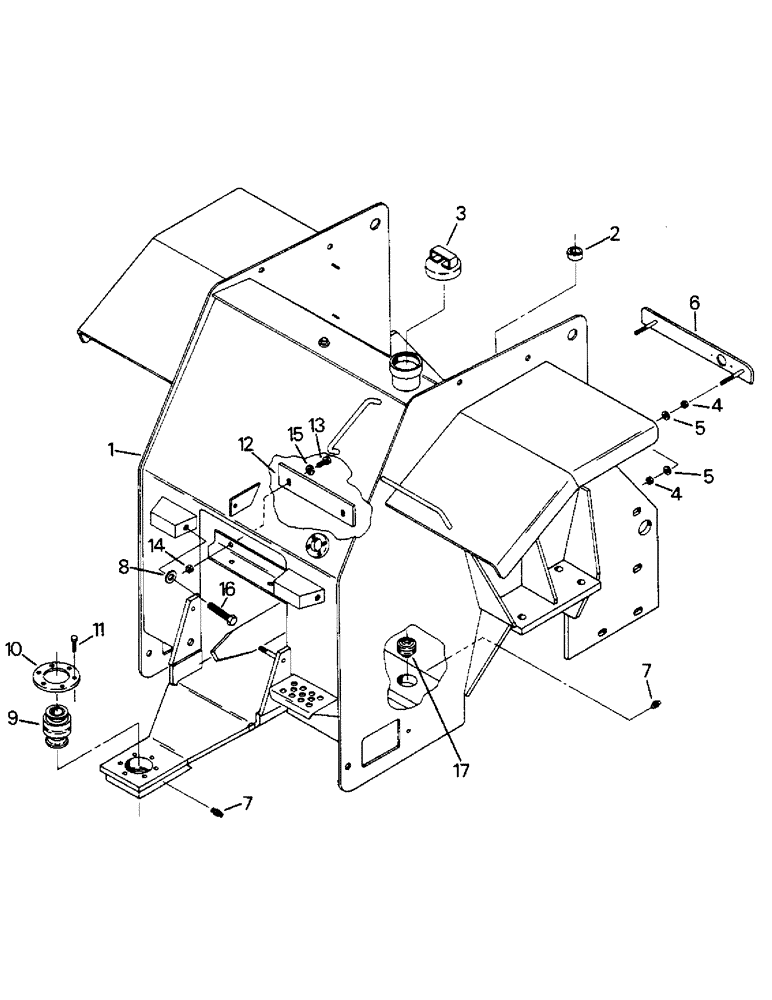
1

FRAME - rear (Special order item)

1шт.

2

70-4621T1

BUSHING

- connecting link mounting

2шт.

3

2-3679T1

FILLER CAP

CAP - fuel

1шт.

4

19-78

SPECIAL NUT,3/8"-16, G5

3/8 UNC G-B

8шт.

5

19-107

WASHER

- flat, 3/8

8шт.

6

70-3131T1

MOUNTING PARTS

MOUNT - light, left

1шт.

70-3132T1

MOUNTING PARTS

MOUNT - light, right

1шт.

7

80710

LUBE NIPPLE,1/8” – 27 Dryseal PTF

NIPPLE, LUBE, 1/8"-27 x .66 lg

3шт.

8

19-5708

WASHER

- flat, 1 x 1-3/4 x 1/4 (Quantity 10 with PTO)

2шт.

9

15-45

SPHERICAL BEARING,1.755" ID x 3.5617" OD x 4"

- hinge

1шт.

10

2-10

RETAINER

RING - retaining

1шт.

11

19-16

BOLT,Hex, 3/8" - 16 x 3/4", Gr 5

CAPSCREW, 3/8 UNC x 3/4 G-5

6шт.

12

70-4903T1

PLATE

- connecting link stabilizer

1шт.

13

19-543

BOLT,Hex, 1/2" - 13 x 1 1/2", Gr 8

CAPSCREW, 1/2 UNC x 1-1/2 G-8

2шт.

14

19-81

NUT,1/2"-13, G5

1/2 UNC G-B

2шт.

15

19-5603

WASHER,17/32" x 1 1/16" x .095", HDN

- flat, hardened (Special)

2шт.

16

19-6246

CAPSCREW, 1 UNC x 4 G-8

2шт.

17

15-44

SPHERICAL BEARING

BEARING - steering cylinder

2шт.

Выбрано товаров: 18