Качественные детали и логистика
Оригинальные и аналоговые запчасти с доставкой по России, Казахстану и Беларуси
©2022 PartSell ООО "Система" ИНН 2463123282 ОГРН 1212400004838
Центральный офис: г. Красноярск, Академика Киренского, д.87, пом.4
Телефон: 8 (800) 777-65-74 Email: zakaz@partsell.ru
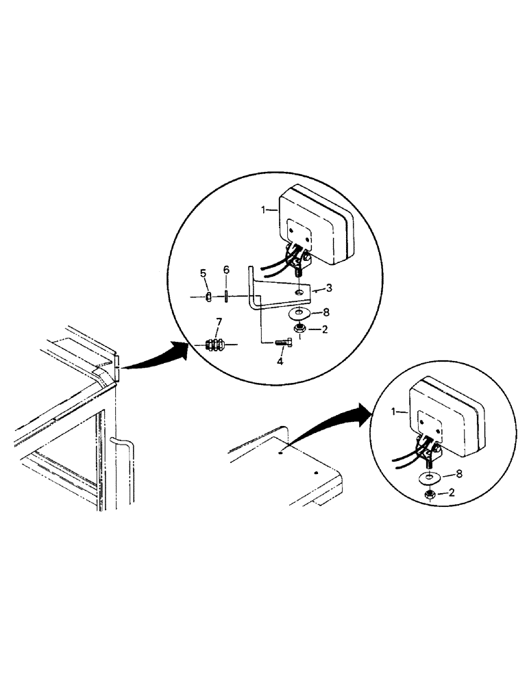
(10-42) - FIELD LIGHT OPTION
№
Артикул
Название
Примечание
Количество
1
LIGHT ASSEMBLY - field (See Fig. 2-20)
4шт.
2
19-653
LOCK NUT
- lock, 1/2 UNC G-A
3
60-4336T1
SUPPORT
BRACKET - light mount
2шт.
4
19-2
BOLT,Hex, 1/4" - 20 x 1", Gr 5
CAPSCREW, 1/4 UNC x 1 G-5
5
19-1081
- lock, 1/4 UNC G-A
6
19-105
WASHER,1/4", SAE
- flat, 1/4
7
60-2924T1
CONNECTING ROD
CONNECTOR - electrical
8
22-367
SPRING WASHER
- curved spring
Выбрано товаров: 0