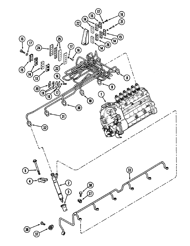
Запчасти Case IH 9110 (04-38) - FUEL INJECTION SYSTEM, 6TA-830 ENGINE, PRIOR TO SERIAL NUMBER 17900567 (04) - Drive Train

Схема запчастей Case IH 9110 - (04-38) - FUEL INJECTION SYSTEM, 6TA-830 ENGINE, PRIOR TO SERIAL NUMBER 17900567 (04) - Drive Train
16
14
33
8
26
1
38
18
20
15
30
5
2
9
3
14
16
31
25
17
23
16
32
16
10
15
19
15
24
38
22
37
13
17
37
14
14
4
21
17
17
FIT
1:1
100%

Артикул

Название

Примечание

Количество

1

REF

INSTRUCTION

PUMP ASSEMBLY - injector, fuel (See Fig. 4-46)

1шт.

2

REF

INSTRUCTION

INJECTOR ASSEMBLY - fuel (See Fig. 4-50)

6шт.

3

J909886

SEAL,16.9mm ID x 22mm OD x 38mm L

- sleeve, injector

6шт.

4

J910279

CLAMP

- injector

6шт.

5

J902112

FLANGE BOLT,Hvy Hex, M8 x 80mm, Cl 8.8

BOLT - hex flange, M8 x 80 MM

6шт.

8

J910749

FUEL TUBE,2 mm ID x 6.4 mm OD x 927.5 mm L

TUBE ASSEMBLY - fuel, No. 1 cylinder

1шт.

9

J910750

FUEL TUBE,2 mm ID x 6.4 mm OD x 927.5 mm L

TUBE ASSEMBLY - fuel, No. 2 cylinder

1шт.

10

J910751

FUEL TUBE,2 mm ID x 6.4 mm OD x 927.5 mm L

TUBE ASSEMBLY - fuel, No. 3 cylinder

1шт.

13

J907505

BRACE

BRACKET - tube

1шт.

14

J904520

FUEL TUBE

ISOLATOR - tube

6шт.

15

J904519

SUPPORT

BRACE - tube

2шт.

16

J903609

SCREW

BOLT - hex, M5 x 20 MM

9шт.

17

J903723

WASHER

- flat, 6 x 10 x 1 MM

11шт.

18

CURJ904711

CLAMP

BRACE - supply tube

1шт.

19

J904712

SHIN

ISOLATOR - supply tube

2шт.

20

J907546

BRACE

- tube

1шт.

21

J910037

BOLT

BOLT - hex, retaining

2шт.

22

J910685

BRACKET

- tube, retaining

1шт.

23

J910686

BRACE

- tube retaining

1шт.

24

J910687

LARGE PLATE

BRACE - tube retaining

1шт.

25

J910691

SHIN

ISOLATOR - tube

2шт.

26

J910689

ISOLATOR

- tube

1шт.

30

J910752

FUEL TUBE,2 mm ID x 6.4 mm OD x 927.5 mm L

TUBE ASSEMBLY - fuel no. 4 cylinder

1шт.

31

J910753

FUEL TUBE,2 mm ID x 6.4 mm OD x 927.5 mm L

TUBE ASSEMBLY - fuel, no. 5 cylinder

1шт.

32

J910754

FUEL TUBE

TUBE ASSEMBLY - fuel, no. 6 cylinder

1шт.

33

J911246

MANIFOLD

ASSEMBLY - drain, fuel

1шт.

37

J903380

SEAL

- connector

7шт.

38

J905307

BANJO BOLT,M6 x 1 x 14.30mm

BOLT, BANJO, , Connector M6 x 1 x 14.3

7шт.

Выбрано товаров: 28