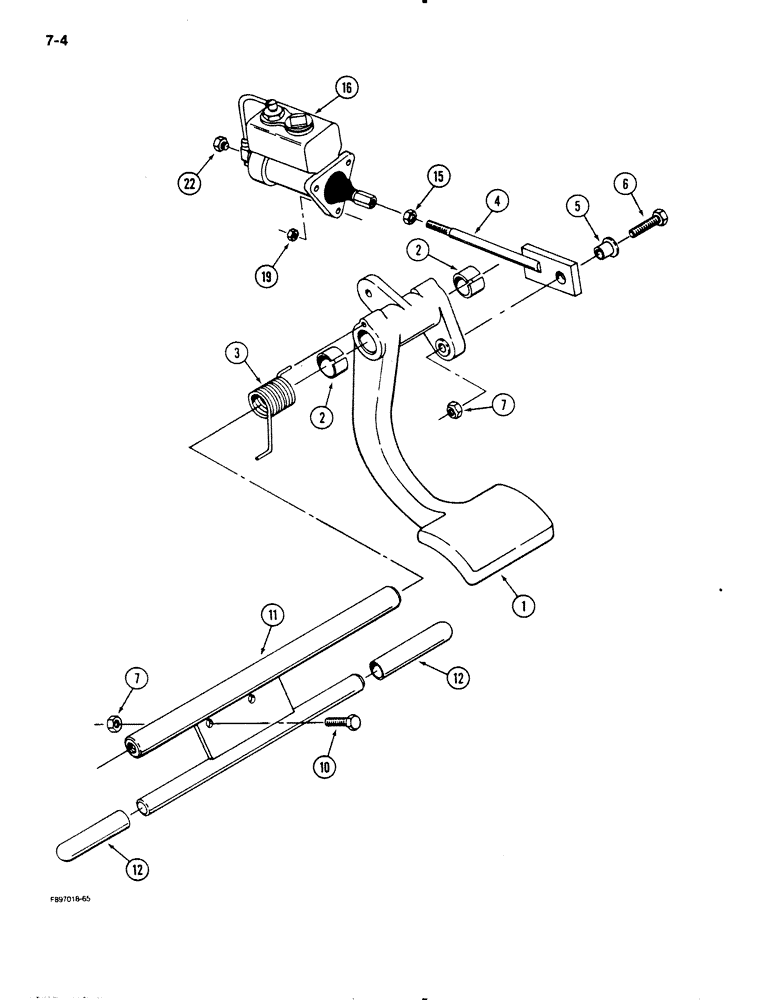
Запчасти Case IH 9110 (7-04) - BRAKE CONTROLS, IF EQUIPPED (07) - BRAKES

Схема запчастей Case IH 9110 - (7-04) - BRAKE CONTROLS, IF EQUIPPED (07) - BRAKES
11
4
12
12
3
7
2
19
6
2
22
7
1
10
5
16
15
FIT
1:1
100%

Артикул

Название

Примечание

Количество

1

60-4251T2

PEDAL

- brake

1шт.

2

24-208

BEARING ASSY,1" ID x 1.125" OD x 0.75"

BEARING - pivot, split

2шт.

3

11-19

SPRING

- torsion, pedal return

1шт.

4

60-5792T1

THREADED ROD

ROD - push, master cylinder

1шт.

5

60-4337T1

FLANGED BEARING

BEARING - flanged

1шт.

6

19-46

BOLT,1/2" - 13 x 2", Gr 5

- hex, 1/2 NC x 2 inch

1шт.

7

19-653

LOCK NUT

- hex lock, 1/2 inch NC

3шт.

10

19-44

BOLT,Hex, 1/2" - 13 x 1 1/4", Gr 5

- hex, 1/2 NC x 1-1/4 inch

2шт.

11

60-5074T1

PEDAL

MOUNT - pedal, brake and clutch

1шт.

12

1-3520

BUMPER

- pedal stop, brake and clutch

2шт.

15

19-2257

NUT

- hex, 5/8 inch NF

1шт.

16

REF

INSTRUCTION

CYLINDER - master, brake (See Fig. 7-18)

1шт.

19

19-341

LOCK NUT,3/8" - 16, GB

NUT - hex, lock, 3/8 inch NC

3шт.

22

221-849

PLUG,Hex Soc, 1/8"-27

- hex socket, 1/8 inch PT

1шт.

Выбрано товаров: 14