Запчасти Case IH 9110 (8-40) - REMOTE HYDRAULIC CONTROL (08) - HYDRAULICS

Схема запчастей Case IH 9110 - (8-40) - REMOTE HYDRAULIC CONTROL (08) - HYDRAULICS
26
2
27
24
16
8
7
41
7
42
43
20
8
10
29
14
39
14
7
36
35
8
31
19
20
18
25
7
10
8
9
28
1
4
10
40
32
3
23
30
17
15
FIT
1:1
100%

Артикул

Название

Примечание

Количество

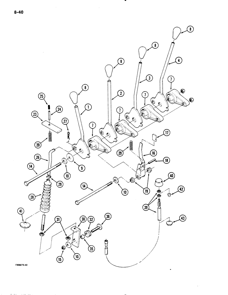
1

60-6073T1

LEVER

- control, first remote

1шт.

2

60-6074T1

LEVER

- control, second remote

1шт.

3

60-6075T1

LEVER

- control, third remote

1шт.

4

60-6076T1

LEVER

- control, fourth remote

1шт.

7

60-6067T1

CONTROL LEVER

BUSHING - lever pivot

4шт.

8

60-4346T1

KNOB

- lever, control

4шт.

9

19-6154

WASHER

- flat, nylon, 3/8 x 1-1/4 x 1/16 inch

1шт.

10

25709R1

WASHER

- flat, 13/32 x 13/16 x 3/32 inch, hardened

6шт.

14

113-258

BOLT,Hex, 3/8" - 16 x 6", Gr 5

2шт.

15

19-341

LOCK NUT,3/8" - 16, GB

NUT - hex, lock, 3/8 inch NC

6шт.

16

60-6081T1

LEVER

LOCKOUT - lever

4шт.

17

60-6068T1

CAP

- lockout lever

4шт.

18

138-135

LOCK PIN,1/4" x 1 1/8", Slotted

PIN, LOCK, 1/4" x 1 1/8", Slotted

4шт.

19

19-6113

NYLON BEARING,0.484" ID x 0.578" OD x 0.14"

BEARING - flanged

8шт.

20

K14651

SPRING

- lockout, lever

8шт.

23

60-3933T1

BRACKET

- lockout, lever

4шт.

24

19-6218

PIN,3/16" x 1 3/8", Coiled

4шт.

Ref. 24 R/B 38-11222 Slotted Spring Pin PER ECN F97597 MV

1шт.

25

60-3937T1

CYLINDER END CAP

CAP - lockout, lever

4шт.

26

60-4283T1

STEM

ROD - actuating

4шт.

27

19-5380

PIN

- hair, 5/64 x 1-3/16 inch

4шт.

28

60-4279T1

BELLOWS

BOOT - rubber

4шт.

29

22-824

CABLE TIE,3/16" x 7 1/4"

STRAP - tie

4шт.

30

60-4282T1

SUPPORT

BRACKET - valve actuating

4шт.

31

129-103

NUT,Hex, 3/8" - 16, Gr 5

NUT, 3/8"-16, G5

8шт.

32

22-95

GROMMET

- isolator

4шт.

35

60-4284T1

SPACER

BUSHING - pivot

4шт.

36

60-4281T1

STUD

BOLT - isolator

4шт.

39

60-4688T1

CABLE

SHAFT ASSEMBLY - flex, flow control

1шт.

40

60-4339T1

BUTTON

KNOB - flow control

1шт.

41

22-619

GROMMET

- hole plug (If equipped)

1шт.

42

60-4258T1

PLUG

- hole, flow control access

1шт.

43

64-146

PLUG

- hole, flow control access

1шт.

Выбрано товаров: 33