Запчасти Case IH 9110 (2-12) - EXHAUST SYSTEM (02) - ENGINE

Схема запчастей Case IH 9110 - (2-12) - EXHAUST SYSTEM (02) - ENGINE
2
8
24
8
27
10
9
8
10
8
8
9
14
13
7
4
19
10
3
26
9
6
5
10
7
20
15
18
17
7
3
7
8
10
9
9
1
25
16
30
9
7
FIT
1:1
100%

Артикул

Название

Примечание

Количество

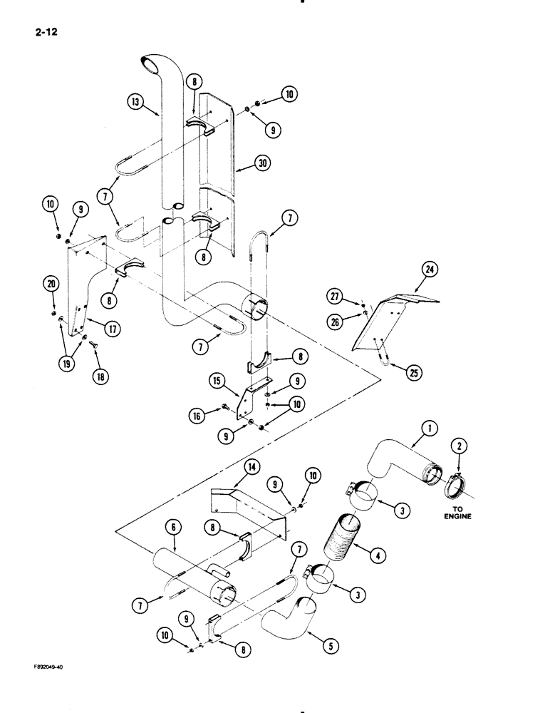
1

90-6227T1

TUBE,13.6 mm L

- exhaust, turbocharger to flex tube

1шт.

2

A170807

CLAMP,102mm ID

tube retaining

1шт.

3

31-2465

CLAMP

SEAL - exhaust clamp

2шт.

4

90-5858T1

TUBE,4" ID x 4.25" OD x 9" L

- flex, exhaust

1шт.

5

90-6235T1

TUBE,4" OD

- exhaust, flex tube to ejector

1шт.

6

90-6225T1

TUBE,4" DIA x 18.5" L

EJECTOR - exhaust

1шт.

7

19-6256

BOLT

U BOLT, 3/8 NC x 4 x 5-5/8 inch

5шт.

8

19-6232

SADDLE

- U-bolt

5шт.

9

19-107

WASHER

- flat, 3/8 x 1 x 5/64 inch

17шт.

10

232-4136

LOCK NUT,3/8"-16, GC

NUT - hex, lock, 3/8 inch NC

17шт.

13

90-6230T1

EXHAUST SYSTEM PIPE,4 mm OD

TUBE - exhaust stack

1шт.

14

70-4911T1

SHIELD

- heat

1шт.

15

90-6619T1

BRACKET

MOUNT - support, exhaust stack

1шт.

16

413-620

BOLT,Hex, 3/8" - 16 x 1-1/4", Gr 5

- hex, 3/8 NC x 1-1/4 inch

3шт.

17

90-6827T1

STRAP

MOUNT - support, exhaust stack

1шт.

18

113-310

BOLT,Hex, 7/16" - 14 x 1", Gr 5

4шт.

19

25846R1

WASHER

- flat, 15/32 x 59/64 x 3/32 inch

5шт.

20

231-4117

LOCK NUT,7/16"-14, GB

NUT - hex lock, 7/16 inch NC

4шт.

24

90-6746T1

SHIELD

- heat

1шт.

25

19-153

U-BOLT

- heat shield mounting

2шт.

26

19-700

WASHER,5/16"

- flat, 5/16 x 7/8 x 5/64 inch

4шт.

27

19-508

LOCK NUT

- hex lock, 5/16 inch NC

4шт.

30

90-6923T1

SHIELD

- heat (ROPS only)

1шт.

Выбрано товаров: 23