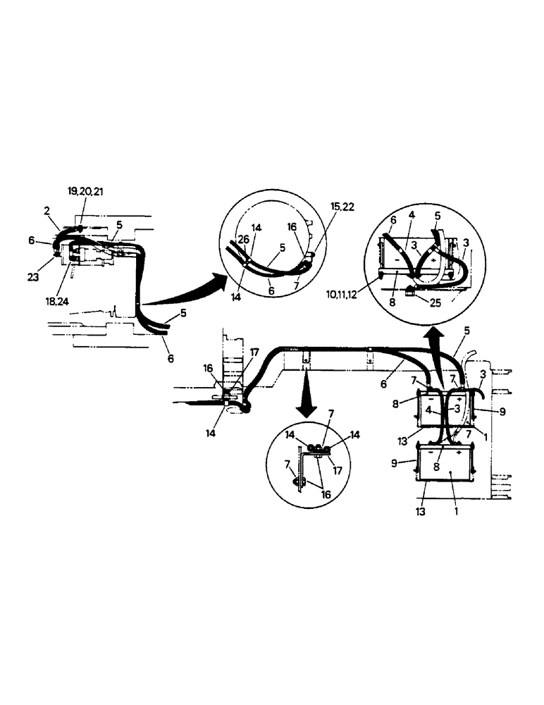
Запчасти Case IH 9130 (02-04) - BATTERIES AND MOUNTING (06) - ELECTRICAL

Схема запчастей Case IH 9130 - (02-04) - BATTERIES AND MOUNTING (06) - ELECTRICAL
3
7
23
13
24
6
25
14
8
12
8
17
6
9
9
14
7
5
4
14
19
13
16
18
10
6
6
20
22
3
7
17
15
6
1
5
7
5
16
14
16
3
7
5
5
7
4
2
21
8
11
1
14
3
26
FIT
1:1
100%

Артикул

Название

Примечание

Количество

1

A186019

BATTERY

(Case - IH)

2шт.

1-6319

WET BATTERY

(Delco no. 1980474)

1шт.

20-2311T1

WET BATTERY

(Gould no. PC-31MC)

1шт.

20-2496T1

BATTERY

(Mixon no. TX31S) (Batteries are interchangeable but must be used in matched sets)

1шт.

2

22-33

CABLE

- starter, ground

1шт.

3

20-2425T1

CABLE

- battery, positive

2шт.

3

1-4965

CABLE

- battery, negative

1шт.

5

20-2370T1

CABLE

- battery to starter, positive

1шт.

6

20-2369T1

CABLE

- battery to starter, negative

1шт.

7

19-341

LOCK NUT,3/8" - 16, GB

NUT - lock, 3/8 UNC G-A

9шт.

8

70-4175T1

ANGLE

- battery hold down

2шт.

9

1-1946

TRUSS ROD

BOLT - hook, clamp

4шт.

10

19-106

WASHER,5/16", SAE

5/16

4шт.

11

19-116

LOCK WASHER,5/16"

5/16"

4шт.

12

19-77

NUT,5/16"-18, G5

5/16 UNC G-B

4шт.

13

60-1059T1

BASE

- battery (Early models only)

2шт.

14

32-161

COLLAR CLAMP

CLAMP - battery cable

8шт.

15

40-1213

CAPSCREW,Hex, M12 x 1.75 x 25mm, Gr 8.8

M12 x 1.75 x 25 MM

1шт.

16

19-17

BOLT,Hex, 3/8" - 16 x 1", Gr 5, Full Thd

CAPSCREW, 3/8 UNC x 1 G-5

5шт.

17

20-2373T1

BRACKET

- clamp mounting

3шт.

18

19-81

NUT,1/2"-13, G5

1/2 UNC G-B

1шт.

19

19-79

NUT,7/16"-14, G5

7/16 UNC G-B

1шт.

20

19-32

BOLT,Hex, 7/16" - 14 x 1", Gr 5, Full Thd

CAPSCREW, 7/16 UNC x 1 G-5

1шт.

21

19-193

LOCK WASHER,Ext Tooth, 7/16"

WASHER - lock, 7/16

1шт.

22

19-119

LOCK WASHER,1/2"

1/2"

1шт.

23

20-1329T1

NUT

1шт.

24

20-2424T1

BOOT

- battery cable

1шт.

25

20-2051T1

STUD

TERMINAL - remote battery jumper

1шт.

26

40-1091

BOLT,Hex, M10 x 1.5 x 20mm, Gr 8.8

CAPSCREW, M10 x 1.50 x 20 MM

1шт.

Выбрано товаров: 29