Запчасти Case IH 9130 (01-39) - THROTTLE CONTROLS, ROPS ONLY CAB (10) - CAB

Схема запчастей Case IH 9130 - (01-39) - THROTTLE CONTROLS, ROPS ONLY CAB (10) - CAB
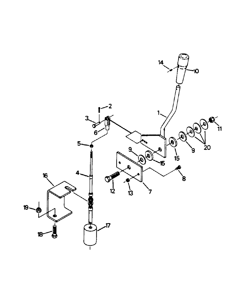
7
3
9
17
4
20
1
8
15
5
19
10
16
14
12
18
6
9
13
15
11
2
FIT
1:1
100%

Артикул

Название

Примечание

Количество

1

60-5850T1

LEVER ASSY.

LEVER - throttle

1шт.

2

19-1100

COTTER PIN,1/16" x 1/2"

Pin, Split (Cotter), 1/16" x 1/2"

1шт.

3

19-874

CLEVIS PIN,3/16" x .580"

PIN - clevis, 3/16 x 1/2 inch

1шт.

4

60-3703T1

CABLE

- throttle, Includes: Ref. 5

1шт.

5

19-308

NUT,#10 - 32

no. 10 UNF G-A

1шт.

6

19-873

CLEVIS

YOKE - clevis

1шт.

7

60-5851T1

LARGE PLATE

PLATE - throttle mounting

1шт.

8

19-1

BOLT,Hex, 1/4" - 20 x 3/4", Gr 5

CAPSCREW, 1/4 UNC x 3/4 G-5

2шт.

9

19-109

WASHER,1/2"

- flat, 1/2

2шт.

10

60-2050T3

BALL KNOB

KNOB - throttle lever

1шт.

(60-2050T2)

1шт.

Old part can be used on all tractors, new part should be used when stock is depleted.

1шт.

11

19-653

LOCK NUT

- lock, 1/2 UNC G-A

1шт.

12

19-269

BOLT,Hex, 1/2" - 13 x 1 3/4", Gr 5

CAPSCREW, 1/2 UNC x 1-3/4

1шт.

13

19-1081

LOCK NUT

- lock, 1/4 UNC G-A

2шт.

14

19-5798

SET SCREW

SCREW - set, no. 8 UNC x 5/16

1шт.

15

54-294

THRUST WASHER

- thrust, 1/2 x 1-3/8 x 1/8 thk

2шт.

16

60-5848T1

BRACKET

- cable mounting

1шт.

17

60-3705T1

FOAM

SEAL - foam

1шт.

18

19-32

BOLT,Hex, 7/16" - 14 x 1", Gr 5, Full Thd

CAPSCREW, 7/16 UNC x 1 G-5

1шт.

19

231-4117

LOCK NUT,7/16"-14, GB

NUT - lock, 7/16 UNC G-B

1шт.

20

19-5648

SPRING WASHER

- conical spring, 1/2

3шт.

Выбрано товаров: 22