Запчасти Case IH 9130 (10-20) - PTO CONTROL VALVE ASSEMBLY Options & Miscellaneous

Схема запчастей Case IH 9130 - (10-20) - PTO CONTROL VALVE ASSEMBLY Options & Miscellaneous
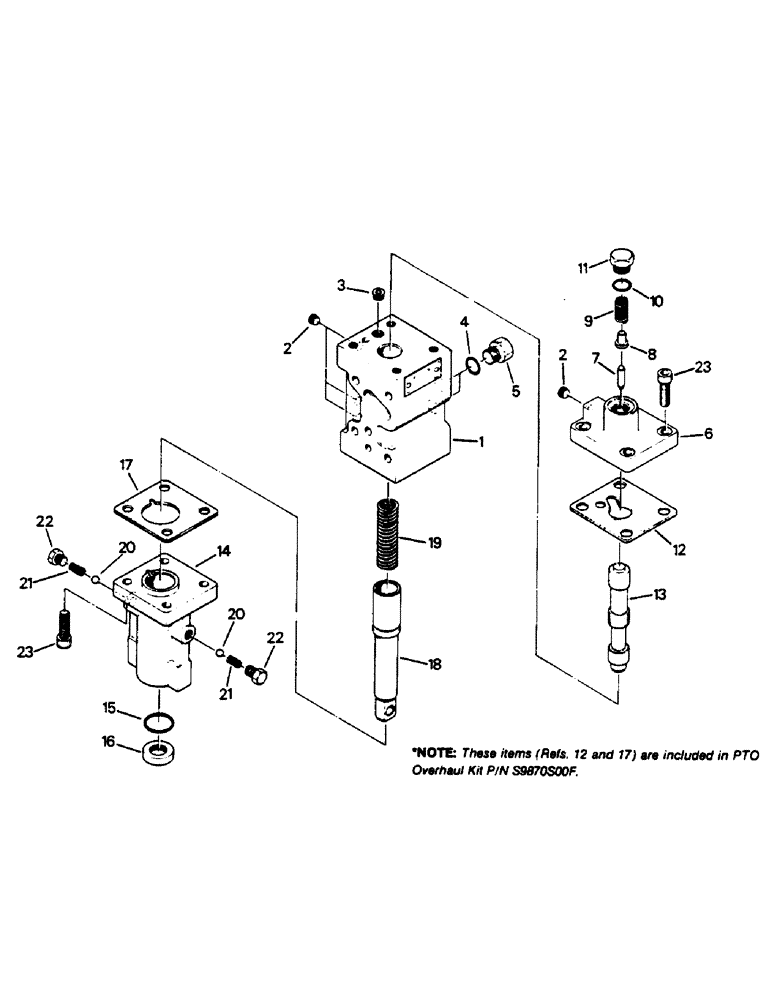
13
9
3
5
2
23
6
2
11
1
15
23
20
21
22
19
16
14
10
7
18
21
8
4
12
22
20
17
FIT
1:1
100%

Артикул

Название

Примечание

Количество

S9500S00F

VALVE

PTO CONTROL VALVE ASSEMBLY, Includes: Ref. 1 - 23

1шт.

1

S9580S00F

BODY

- modulator

1шт.

2

S9720S00F

PLUG

- pipe

4шт.

3

S9730S00F

PLUG

- orifice

1шт.

4

S1320S00F

O-RING

- plug

2шт.

5

S1390S00F

PLUG

- o-ring, Includes: Ref. 4

2шт.

6

S9610S00F

COVER

- valve

1шт.

7

S9620S00F

PISTON

SPOOL - reducing

1шт.

8

S9640S00F

PIN

1шт.

9

9650S00F

SPRING - compression

1шт.

10

S9660S00F

GASKET

O-RING - plug

1шт.

11

S9670S00F

PLUG

- o-ring

1шт.

12

S9600S00F

GASKET

- cover

1шт.

13

S9590S00F

PISTON

SPOOL - modulator

1шт.

14

S9550S00F

CAP

COVER - control stem

1шт.

15

S9540S00F

GASKET

O-RING - seal

1шт.

16

S9530S00F

SEAL

- control stem

1шт.

17

S9570S00F

GASKET

- cover

1шт.

18

S9520S00F

STEM

- control

1шт.

19

S9560S00F

SPRING

- compression

1шт.

20

S9690S00F

BALL

- steel

2шт.

21

S9700S00F

SPRING

- compression

2шт.

22

S9710S00F

PLUG

2шт.

23

S9680S00F

SCREW

CAPSCREW

8шт.

Выбрано товаров: 24