Запчасти Case IH 9130 (04-51) - EXHAUST SYSTEM (04) - Drive Train

Схема запчастей Case IH 9130 - (04-51) - EXHAUST SYSTEM (04) - Drive Train
8
12
4
14
20
15
16
16
22
16
15
19
18
16
3
2
14
17
12
6
13
15
21
23
12
16
15
5
16
9
12
12
4
15
15
16
11
14
15
10
7
1
14
14
FIT
1:1
100%

Артикул

Название

Примечание

Количество

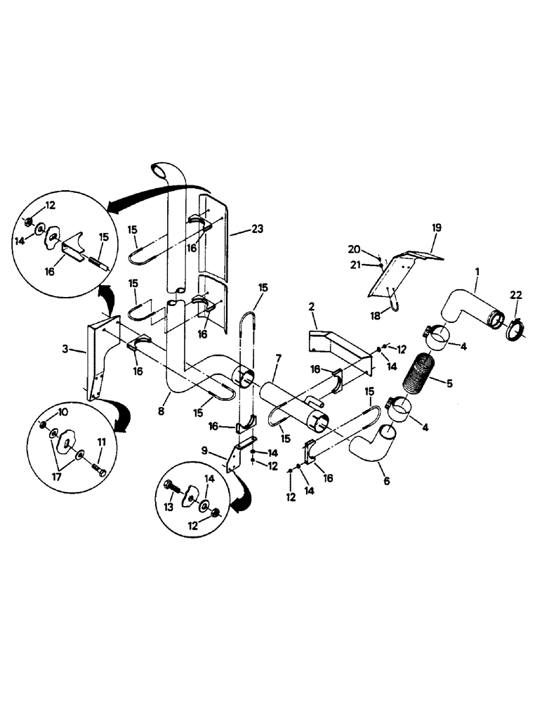
1

90-6227T1

TUBE,13.6 mm L

- turbo charger to flex tube

1шт.

2

70-4911T1

SHIELD

- heat

1шт.

3

90-6627T2

ANCHOR

MOUNT - exhaust stack

1шт.

4

31-2465

CLAMP

SEAL - clamp, exhaust

2шт.

5

90-5858T1

TUBE,4" ID x 4.25" OD x 9" L

TUBING - flex

1шт.

6

90-6235T1

TUBE,4" OD

- flex tube to ejector

1шт.

7

90-6225T1

TUBE,4" DIA x 18.5" L

EJECTOR - exhaust

1шт.

8

90-6230T1

EXHAUST SYSTEM PIPE,4 mm OD

TUBE - exhaust stack

1шт.

9

90-6619T1

BRACKET

MOUNT - exhaust stack

1шт.

10

231-4117

LOCK NUT,7/16"-14, GB

NUT - lock, 7/16 UNC G-B

4шт.

11

19-32

BOLT,Hex, 7/16" - 14 x 1", Gr 5, Full Thd

CAPSCREW, 7/16 UNC x G-5

4шт.

12

232-4136

LOCK NUT,3/8"-16, GC

NUT - lock, 3/8 UNC G-B (Quantity 17 with ROPS only cab)

13шт.

13

19-18

BOLT,Hex, 3/8" - 16 x 1 1/4", Gr 5

CAPSCREW, 3/8 UNC x 1-1/4 G-5

3шт.

14

19-107

WASHER

flat, 3/8 (Quantity 17 with ROPS only cab)

13шт.

15

19-6256

BOLT

U-BOLT (19-6231) (Quantity 7 with ROPS only cab)

5шт.

Old part can be used on all tractors, new part should be used when stock is depleted.

1шт.

16

19-6232

SADDLE

- U-bolt, (Quantity 7 with ROPS only cab)

5шт.

17

19-108

WASHER,7/16"

- flat, 7/16

5шт.

18

19-153

U-BOLT

- heat shield mounting

2шт.

19

90-6746T1

SHIELD

- heat

1шт.

20

19-508

LOCK NUT

- lock, 5/16 UNC G-B

4шт.

21

19-700

WASHER,5/16"

- flat, 5/16

4шт.

22

A170807

CLAMP,102mm ID

turbo, Serial Range: charger-tube

1шт.

23

90-6923T1

SHIELD

- heat (Used on ROPS only cab only)

1шт.

Выбрано товаров: 24