Запчасти Case IH 9130 (6-28) - TRANSMISSION, LUBRICATION PUMP (06) - POWER TRAIN

Схема запчастей Case IH 9130 - (6-28) - TRANSMISSION, LUBRICATION PUMP (06) - POWER TRAIN
5
2
24
7
22
1
10
26
6
25
3
11
4
25
27
21
8
30
10
20
23
19
11
20
FIT
1:1
100%

Артикул

Название

Примечание

Количество

90-7014T91

TRANSMISSION

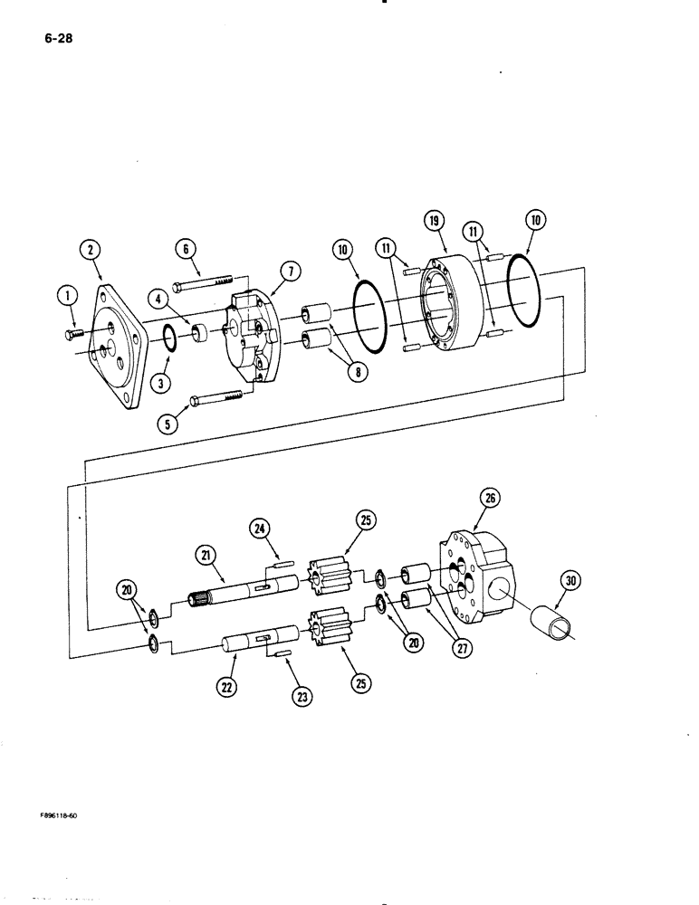
TRANSMISSION ASSEMBLY (Continued), Includes: Ref. 1 - 30

1шт.

313686A1R

REMAN-TRANSMISSION

Remanufactured Transmission 4WD Powershift;

1шт.

313686A1C

CORE-TRANSMISSION

Return Part Number

1шт.

33-1524T91

PUMP, HYDRAULIC

PUMP ASSEMBLY - lubrication, Includes: Ref. 1 - 30

1шт.

33-1524T91R

REMAN-HYD PUMP

9110, 9130 Both (S/N JCB0003600 & After) (7/89-8/90)

1шт.

33-1524T91C

CORE-HYDRAULIC PUMP

Return Part Number

1шт.

1

33-1540T1

SCREW

BOLT - hex

3шт.

2

33-1541T1

ADAPTER

ADAPTER - pump mounting

1шт.

3

33-1542T1

O-RING

O-RING - seal

1шт.

4

33-1543T1

RING

RING - locating

1шт.

5

33-1544T1

SCREW

BOLT - hex

4шт.

6

33-1545T1

SCREW

BOLT - hex

4шт.

7

33-1546T1

HOUSING

HOUSING - front, Includes: Ref. 8

1шт.

8

NSS

NOT SOLD SEPARAT

BUSHING - front housing

2шт.

10

33-1547T1

O-RING

O-RING - seal, pump housing

2шт.

11

33-1548T1

DOWEL

PIN - dowel

4шт.

19

33-1549T1

HOUSING

HOUSING - center

1шт.

20

33-1550T1

RING, SNAP

RING SNAP RING - snap

4шт.

21

33-1551T1

DRIVE SHAFT

SHAFT - drive

1шт.

22

33-1552T1

SHAFT

SHAFT - idler

1шт.

23

33-1553T1

KEY

KEY - dowel, idler shaft

1шт.

24

33-1554T1

HITCH ASSY

KEY - dowel, drive shaft

1шт.

25

33-1555T1

PINION

GEAR - pump.

2шт.

26

33-1556T1

HOUSING

HOUSING - rear, Includes: Ref. 27

1шт.

27

NSS

NOT SOLD SEPARAT

BUSHING - rear housing

2шт.

30

33-1557T1

TUBE

TUBE - inlet

1шт.

Выбрано товаров: 0