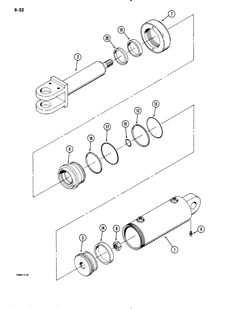
Запчасти Case IH 9130 (8-32) - HITCH CYLINDER ASSEMBLY (08) - HYDRAULICS

Схема запчастей Case IH 9130 - (8-32) - HITCH CYLINDER ASSEMBLY (08) - HYDRAULICS
2
6
9
15
12
14
19
8
3
13
1
7
20
18
17
FIT
1:1
100%

Артикул

Название

Примечание

Количество

50-2441T91

CYLINDER

ASSEMBLY - hitch, Includes: Ref. 1 - 20

1шт.

1

50-2445T1

TUBE ASSY.

BARREL - cylinder

1шт.

2

50-2412T2

ROD

- cylinder

1шт.

3

50-2442T1

JACK PISTON

PISTON - cylinder

1шт.

6

50-2436T1

CYLINDER END CAP

GUIDE - rod

1шт.

7

50-2440T1

CLAMP

COLLAR - locking, guide

1шт.

8

19-5582

LOCK NUT

- lock

1шт.

9

80710

LUBE NIPPLE,1/8” – 27 Dryseal PTF

NIPPLE, LUBE, 1/8"-27 x .66 lg

1шт.

35-1642T91

SEAL KIT

SEAL KIT - cylinder, Includes: Ref. 12 - 20

1шт.

12

50-2443T1

PISTON RING

RING - piston

1шт.

13

50-2444T1

O-RING,3.987" ID x 0.103" Width

- seal, piston

1шт.

14

50-2439T1

WEAR RING,107.95mm ID x 114.3mm OD x 15.88mm Thk

RING - wear, piston

1шт.

15

1-9857T1

O-RING,0.139" Thk x 1.234" ID, -218, Cl 5, 75 Duro

O-RING - seal, rod

1шт.

17

50-2438T1

O-RING,0.21" Thk x 4.1" ID, -346, Cl 5, 75 Duro

- seal, guide

1шт.

18

50-2437T1

WASHER

WASHER - backup, o-ring

1шт.

19

1-9858T1

SEAL

- rod

1шт.

20

1-9859T1

WIPER SEAL

SEAL - wiper, rod

1шт.

Выбрано товаров: 17