Запчасти Case IH 9130 (1-22) - PICTORIAL INDEX, HITCH HYDRAULICS, MANUAL CONTROLLED (00) - PICTORIAL INDEX

Схема запчастей Case IH 9130 - (1-22) - PICTORIAL INDEX, HITCH HYDRAULICS, MANUAL CONTROLLED (00) - PICTORIAL INDEX
4
5
2
6
1
7
5
3
3
FIT
1:1
100%

Артикул

Название

Примечание

Количество

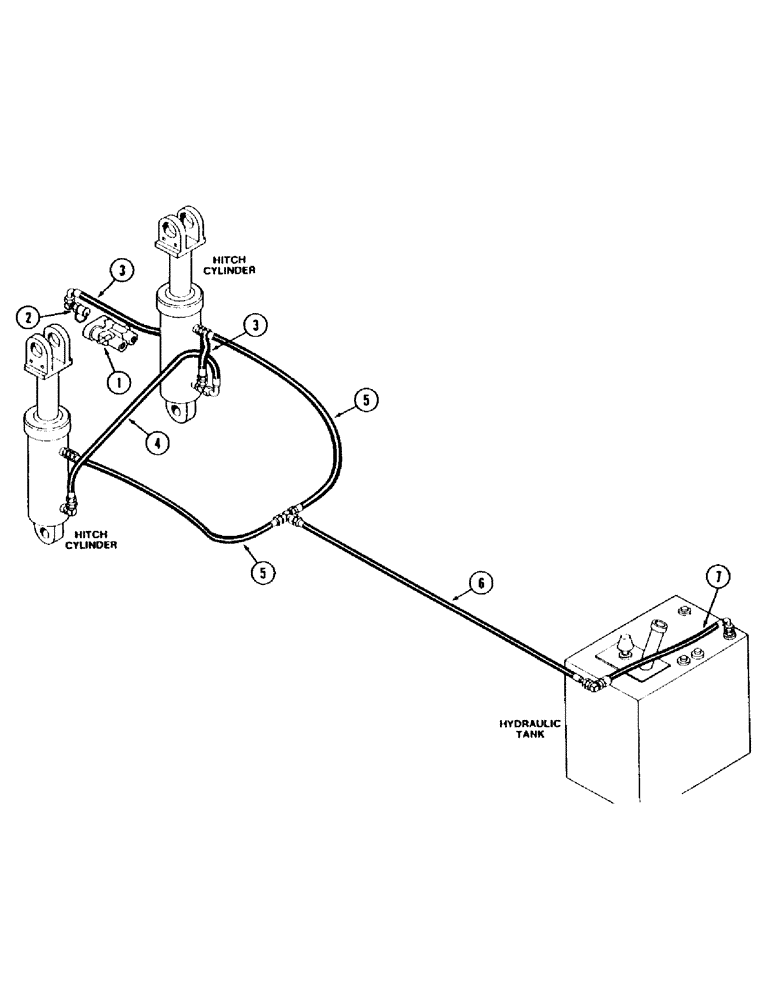
1

Remote Coupler, Fig. 8-8, 8-26, 8-50

1шт.

2

Remote Coupler Cartridge, Fig. 8-26, 8-50

1шт.

3

Hitch Cylinder Supply Hose, Fig. 8-26

1шт.

4

Hitch Cylinder Supply Hose, Fig. 8-26

1шт.

5

Hitch Cylinder Drain Hose, Fig. 8-26

1шт.

6

Hitch Cylinder Drain Hose, Fig. 8-26

1шт.

7

Hitch Cylinder Drain Hose, Fig. 8-26

1шт.

Выбрано товаров: 7