Запчасти Case IH 9130 (4-26) - GAUGE PANEL (04) - ELECTRICAL SYSTEMS

Схема запчастей Case IH 9130 - (4-26) - GAUGE PANEL (04) - ELECTRICAL SYSTEMS
27
36
9
30
22
31
26
21
24
21
18
28
37
2
24
23
19
22
4
19
34
35
25
20
3
1
35
22
8
32
29
18
20
FIT
1:1
100%

Артикул

Название

Примечание

Количество

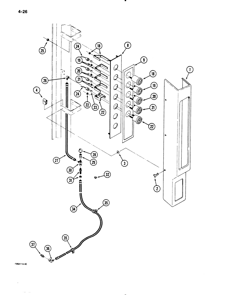
1

60-5940T1

COVER

- panel, ROPS (Deluxe cab)

1шт.

1

60-6166T1

COVER

- panel, ROPS (ROPS cab)

1шт.

2

19-6136

STUD

- quarter turn

6шт.

3

19-5668

WASHER

- flat, 1/4 inch

6шт.

4

A36042

CLIP

RECEPTACLE - quarter turn

6шт.

60-6291T91

PANEL, INSTRUMENTS

PANEL ASSEMBLY - gauge, Includes: Ref. 8 - 24

1шт.

8

60-5756T1

PANEL

- gauge

1шт.

9

60-5939T1

DECAL

- gauge panel

1шт.

18

20-2018T1

HOURMETER

GAUGE - hourmeter

1шт.

19

20-2466T1

VOLTMETER

GAUGE - voltmeter

1шт.

20

20-2464T1

FUEL GAUGE

GAUGE - fuel level

1шт.

21

20-2465T1

GAUGE

- water temperature, engine

1шт.

22

60-6145T1

OIL PRESSURE GAUGE

GAUGE - oil pressure, engine

1шт.

23

23731R1

BULB,C2F, #1893, 14V

- lamp, No.1893

5шт.

24

60-6292T1

HARNESS

- instrument panel lighting

1шт.

25

9411893

LOCK NUT,#10-32, GB

NUT - hex, lock, No. 10 NF

4шт.

26

31-2740

ELBOW

- 90 degree, 1/8 PT x 7/16 inch thread, brass

1шт.

27

31-2784

HOSE

ASSEMBLY - gauge, 42 inch

1шт.

28

60-6330T1

ASSEMBLY

SWITCH - oil pressure, engine

1шт.

29

31-2741

HYD CONNECTOR,37 Degree, Sw, 7/16"-20 x 1/8"-27 NPTF

ADAPTER - straight, 1/8 PT x 7/16 inch thread

1шт.

30

31-2158

TEE,37 Degree, 7/16"-20, x 7/16"-20, Fem Sw Run

- adjustable, 7/16 inch thread

1шт.

31

31-1391

FITTING,Blkhd, 7/16"-20, 37 Degree x 7/16"-20, 37 Degree

CONNECTOR - bulkhead, 7/16 inch thread

1шт.

32

64-146

PLUG

- hole

1шт.

34

31-2155

HOSE

ASSEMBLY - engine oil pressure, 108 inch

1шт.

35

31-1776

MOUNTING CLIP

CLAMP - retaining

2шт.

36

218-5228

ELBOW,90 Degree, 7/16"-20, 37 Degree x 7/16"-20, 37 Degree Fem Sw

- 90 degree swivel, 7/16-20 flare x swivel

1шт.

37

31-661

ELBOW,90 Degree, 7/16"-20, 37 Degree x 1/8"-27, NPTF

ADAPTER - straight, 1/8 PT x 7/16 inch thread (REPLACED 31-1028)

1шт.

Выбрано товаров: 27