Запчасти Case IH 9130 (4-46) - REAR WIPER, IF EQUIPPED (04) - ELECTRICAL SYSTEMS

Схема запчастей Case IH 9130 - (4-46) - REAR WIPER, IF EQUIPPED (04) - ELECTRICAL SYSTEMS
3
6
8
4
1
1
2
7
1
5
FIT
1:1
100%

Артикул

Название

Примечание

Количество

35-1718T91

KIT

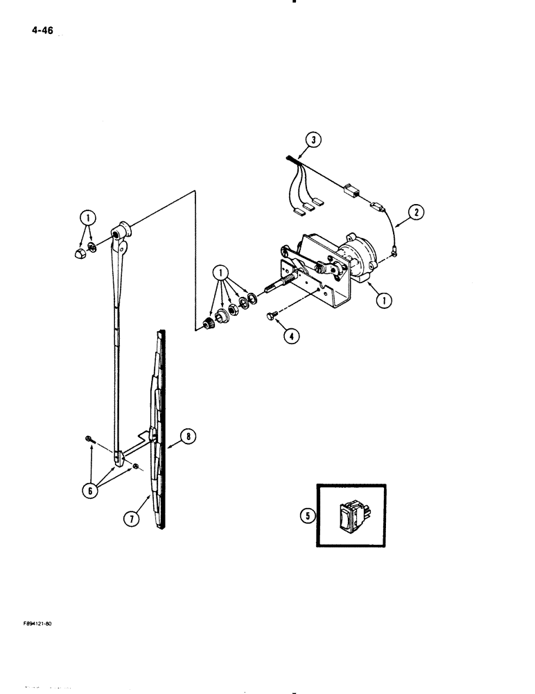
WIPER KIT - side and rear window with washer, Includes: Ref. 1 - 8

1шт.

Wiper Kit also includes the parts shown on Fig. 4-42 through 4-44.

1шт.

1

REF

INSTRUCTION

DRIVE ASSEMBLY - wiper, rear (See Fig. 4-50)

1шт.

2

20-1452T1

ELECTRICAL WIRE

WIRE ASSEMBLY - motor ground

1шт.

3

20-2502T1

HARNESS

- rear wiper

1шт.

4

414-48

BOLT,Hex, 1/4" - 28 x 1/2", Gr 5

2шт.

5

1964755C1

SWITCH

- rocker, rear wiper (In cab)

1шт.

6

60-6346T1

WIPER ARM

ARM - wiper, rear, 18 inch

1шт.

7

60-1145T91

WIPER BLADE

BLADE ASSEMBLY - wiper, Includes: Ref. 8

1шт.

8

2-4194T1

WIPER BLADE

BLADE - wiper, rubber, 18 inch

1шт.

Выбрано товаров: 10