Запчасти Case IH 9150 (5-06) - STEERING COLUMN ASSEMBLY, (CONT) (05) - STEERING

Схема запчастей Case IH 9150 - (5-06) - STEERING COLUMN ASSEMBLY, (CONT) (05) - STEERING
66
96
63
76
86
88
87
93
78
61
57
70
83
67
54
796
90
95
52
60
84
74
53
62
51
89
97
77
75
85
94
FIT
1:1
100%

Артикул

Название

Примечание

Количество

1-7630

STEERING COLUMN

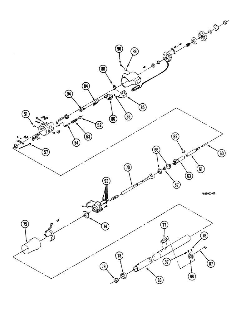
COLUMN ASSEMBLY - steering, tilt and telescoping (Replaces 1-7830), continued, 51 - 97

1шт.

51

1-4509

PIVOT PIN

PIN, PIVOT

2шт.

52

1-1330

RETAINER

- spring

1шт.

53

1-4508

SPRING

- wheel tilt

1шт.

54

1-1323

GUIDE

- spring

1шт.

57

1-4465

ACTUATOR

ASSEMBLY - switch

1шт.

2-1463

SHAFT

ASSEMBLY - steering, Includes: Ref. 60 - 70

1шт.

60

1-4488

STEM

ROD - locking, telescoping

1шт.

61

2-1467

SHAFT

- steering, upper

1шт.

62

1-1312

WEDGE

- locking

1шт.

63

1-4487

YOKE

ASSEMBLY - race and steering shaft

1шт.

33-1175T1

KIT

SPHERE KIT - centering, Includes: Ref. 66 and 67

1шт.

66

NSS

NOT SOLD SEPARAT

SPHERE - centering

2шт.

67

NSS

NOT SOLD SEPARAT

SPRING - joint pre-load

1шт.

70

1-4486

STEERING SHAFT

SHAFT ASSEMBLY - yoke and steering

1шт.

74

1-1326

LARGE PLATE

PLATE - lock

1шт.

75

1-4504

SHROUD

- housing, steering column

1шт.

76

1-1335

SCREW

- machine, flanged

1шт.

77

1-4496

IGNITION SWITCH

SWITCH ASSEMBLY - ignition

1шт.

78

1-4468

ADAPTER

- bearing, lower

1шт.

79

1-4467

BEARING ASSY

BEARING ASSEMBLY - lower

1шт.

83

2-1461

COLUMN JACKET

JACKET ASSEMBLY - housing

1шт.

84

1-4498

ACTUATOR

- rod, dimmer switch

1шт.

85

1-4469

COVER

- end cap, column housing

1шт.

86

2-1452

IGNITION SWITCH

SWITCH ASSEMBLY - pivot

1шт.

Front Wiper Switch

1шт.

87

2-1462

THREADED ROD

ROD - dimmer switch

1шт.

88

1-4470

SHIELD

- opening, tilt lever

1шт.

89

1-4500

BUTTON

KNOB - hazard warning

1шт.

90

19-5456

SCREW,Oval Hd, M3.5

- machine, oval head

1шт.

93

1-1334

SCREW

- support mounting

4шт.

94

2-1455

PIVOT PIN

PIN - pivot, switch activating

1шт.

95

1-6927

SPRING

- pin pre-load

1шт.

96

1-7739

SWITCH

ASSEMBLY - dimmer

1шт.

97

2-1481

STUD

- dimmer switch mounting

1шт.

Выбрано товаров: 35