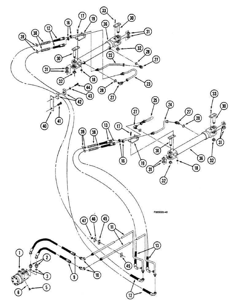
Запчасти Case IH 9150 (5-10) - STEERING SYSTEM HYDRAULICS, STEERING CONTROL VALVE TO STEERING CYLINDERS (05) - STEERING

Схема запчастей Case IH 9150 - (5-10) - STEERING SYSTEM HYDRAULICS, STEERING CONTROL VALVE TO STEERING CYLINDERS (05) - STEERING
39
28
25
13
10
27
9
38
27
32
5
32
32
18
32
45
23
16
22
30
46
30
36
45
30
42
28
45
30
38
19
12
27
19
27
13
31
3
33
1
2
47
19
17
33
6
17
44
28
31
31
36
12
43
41
24
40
18
16
39
FIT
1:1
100%

Артикул

Название

Примечание

Количество

1

REF

INSTRUCTION

VALVE - control, steering (See Figure 5-12)

1шт.

2

31-361

HYD CONNECTOR,3/4"-16, 37 Degree x 1 1/16"-12, O-Ring

CONNECTOR - straight, 1-1/16 x 3/4 inch thread, Includes: Ref. 3

2шт.

3

31-344

O-RING,12-1, 90 Duro, .924 ID x .116" Thk

- 59/64 x 1/8 inch

2шт.

5

1-6353

PLUG

- hex, 7/16 inch thread, Includes: Ref. 6

1шт.

6

31-1019

O-RING,4-1, 90 Duro, .351" ID x .072" Thk

1шт.

9

31-2499

HOSE ASSY.

HOSE - valve to tubes, 34 inch

2шт.

10

31-331

ADAPTER,90 Degree, 37 Degree Fl, 3/4"-16 Male x 3/4"-16 Fem

ELBOW - 90 degree, 7/8 x 7/8 inch thread

2шт.

11

50-2854T1

TUBE

- steering, supply

2шт.

12

31-1769

HOSE

- steering, supply, 50 inch

2шт.

13

31-1288

HOSE

- steering, supply, 24 inch

2шт.

16

31-2520

NUT,Blkhd, 3/4"-16

- hex, tube, 3/4 inch thread

4шт.

17

19-19

BOLT,Hex, 3/8" - 16 x 1 1/2", Gr 5

- hex, 3/8 NC x 1-1/2 inch

2шт.

18

19-341

LOCK NUT,3/8" - 16, GB

NUT - hex, lock, 3/8 inch NC

2шт.

19

50-2608T1

BRACKET

- tube mounting, steering

2шт.

22

50-3284T1

HYD TUBE

TUBE - steering, supply (Replaces 50-2594T2)

1шт.

23

50-2596T2

TUBE

- steering, supply

1шт.

24

50-3285T1

HYD TUBE

TUBE - steering, supply (Replaces 50-2593T2)

1шт.

25

50-2595T2

TUBE

- steering, supply

1шт.

27

31-324

ELBOW,90 Degree, 3/4"-16, 37 Degree x 3/4"-16, O-Ring

- 90 degree, 3/4 x 3/4 inch thread, Includes: Ref. 28

4шт.

28

31-1335

O-RING,8-1, 90 Duro, .644" ID x .087" Thk

- 41/64 x 3/32 inch

4шт.

30

50-1086T1

PIN

- retainer, steering cylinder

4шт.

31

2-3223T1

SPACER

- cylinder mounting

8шт.

32

19-5619

RING, SNAP

RING - snap, cylinder pin

4шт.

33

19-5785

LOCK PIN,1/2" x 7/8", Slotted

Pin, 1/2" x 7/8", Slotted

2шт.

36

REF

INSTRUCTION

CYLINDER ASSEMBLY - steering (See Figure 5-14)

2шт.

38

50-2696T1

HOSE

GUARD - hose, protector, 20 inch

4шт.

39

19-135

CABLE TIE

STRAP - nylon, guard retaining

4шт.

40

50-2896T2

ANCHOR

MOUNT - clamp

2шт.

41

19-759

BOLT,Hex, 5/8" - 11 x 1", Gr 5, Full Thd

- hex, 5/8 NC x 1 inch

2шт.

42

50-2534T1

CLAMP

- split, halves

4шт.

43

19-106

WASHER,5/16", SAE

- flat, 5/16 x 7/8 x 1/16 inch

2шт.

44

19-39

BOLT,5/16" - 18 x 1 3/4", Gr 5

- hex, 5/16 NC x 1-3/4 inch

2шт.

45

50-2531T1

CLAMP

- split halves

6шт.

46

50-2532T1

PLATE

- cover, clamp

3шт.

47

231-1445

NUT,5/16"-18, GB

NUT - hex, lock, 5/16 inch NC

3шт.

70-5517T1

BUSHING,38.09mm ID x 54.74mm OD x 33.33mm L

1шт.

To be used to limit steering cylinder oscillation in order to prevent uniball seal damage.

1шт.

70-5571T1

SPACER

1шт.

To be used to limit steering cylinder oscillation in order to prevent uniball seal damage.

1шт.

70-5570T1

LARGE PLATE

1шт.

To be used to limit steering cylinder oscillation in order to prevent uniball seal damage.

1шт.

Выбрано товаров: 41