Запчасти Case IH 9150 (6-012) - TRANSMISSION (06) - POWER TRAIN

Схема запчастей Case IH 9150 - (6-012) - TRANSMISSION (06) - POWER TRAIN
4
13
14
11
16
2
15
23
3
20
22
28
25
23
17
21
7
27
31
24
1
6
21
19
18
29
26
22
10
30
8
24
14
5
9
26
FIT
1:1
100%

Артикул

Название

Примечание

Количество

90-6256T91

TRANSMISSION

ASSEMBLY (Continued from Figure 6-10), Includes: Ref. 1 - 31

1шт.

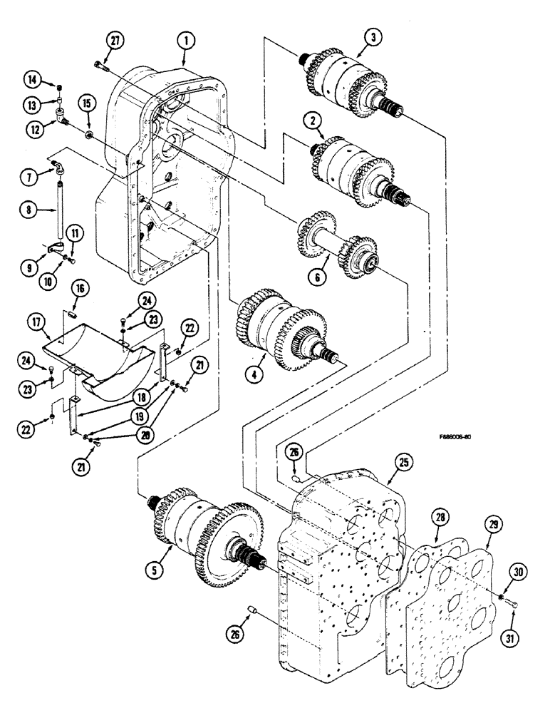
1

33-1476T1

HOUSING

- transmission, rear

1шт.

2

REF

INSTRUCTION

CLUTCH PACK ASSEMBLY - 7 inch, input (See Figure 6-16)

1шт.

3

REF

INSTRUCTION

CLUTCH PACK ASSEMBLY - 7 inch, 2nd (See Figure 6-18)

1шт.

4

REF

INSTRUCTION

CLUTCH PACK ASSEMBLY - 9 inch (See Figure 6-22)

1шт.

5

REF

INSTRUCTION

CLUTCH PACK ASSEMBLY - 8 inch (See Figure 6-20)

1шт.

6

REF

INSTRUCTION

SHAFT - compound (See Figure 6-14)

1шт.

7

33-1472T1

ELBOW

- breather tube

1шт.

8

33-1471T1

TUBE

- breather

1шт.

9

33-1473T1

MOUNTING CLIP

CLAMP - breather tube

1шт.

10

SM8915142

WASHER

- lock, M12

1шт.

11

SM8124225

BOLT

BOLT - hex, M12 x 1.25 x 25 mm

1шт.

12

33-1455T1

VENTILATION PIPE

ELBOW - breather filter

1шт.

13

33-1454T1

BREATHER

FILTER - breather

1шт.

14

SAS99900F

PLUG

- filter element retension

1шт.

15

SM8911246

NUT

- M16 x 1.5

1шт.

16

33-1423T1

PIN, ROLL

PIN - roll

1шт.

17

33-1425T1

PAN, ENGINE OIL

BAFFLE - oil

1шт.

18

33-1424T1

STRAP

- oil baffle

2шт.

19

SM8915442

WASHER

- flat, M12

2шт.

20

SM8915142

WASHER

- lock, M12

2шт.

21

SM8124225

BOLT

BOLT - hex, M12 x 1.25 x 25 mm

2шт.

22

825-11410

NUT,M10 x 1.25, Cl 8

2шт.

23

SM8915440

WASHER

- flat, M10

2шт.

24

SM8124020

BOLT

BOLT - hex, M10 x 1.25 x 20 mm

2шт.

25

S1400S00F

HOUSING

- transmission, front

1шт.

26

33-1487T1

PIN - dowel

2шт.

27

SM8121240

BOLT

BOLT - hex, M12 x 1.75 x 40 mm

30шт.

28

S1590S00F

GASKET

- oil supply plate

1шт.

Part of Transmission Gasket Kit, P/N S1670S00F.

1шт.

29

S1580S00F

LARGE PLATE

PLATE - oil supply

1шт.

30

SM8915140

PLATE, LOCKING

WASHER - lock, M10

7шт.

31

SM8124045

BOLT

BOLT - hex, M10 x 1.25 x 45 mm

7шт.

S1670S00F

GASKET

KIT Gasket, transmission, Includes: Ref. 28

1шт.

Выбрано товаров: 34