Запчасти Case IH 9150 (6-024) - TRANSMISSION, CLUTCH CONTROL VALVE (06) - POWER TRAIN

Схема запчастей Case IH 9150 - (6-024) - TRANSMISSION, CLUTCH CONTROL VALVE (06) - POWER TRAIN
13
15
16
25
25
2
19
9
24
16
6
3
18
5
22
7
14
23
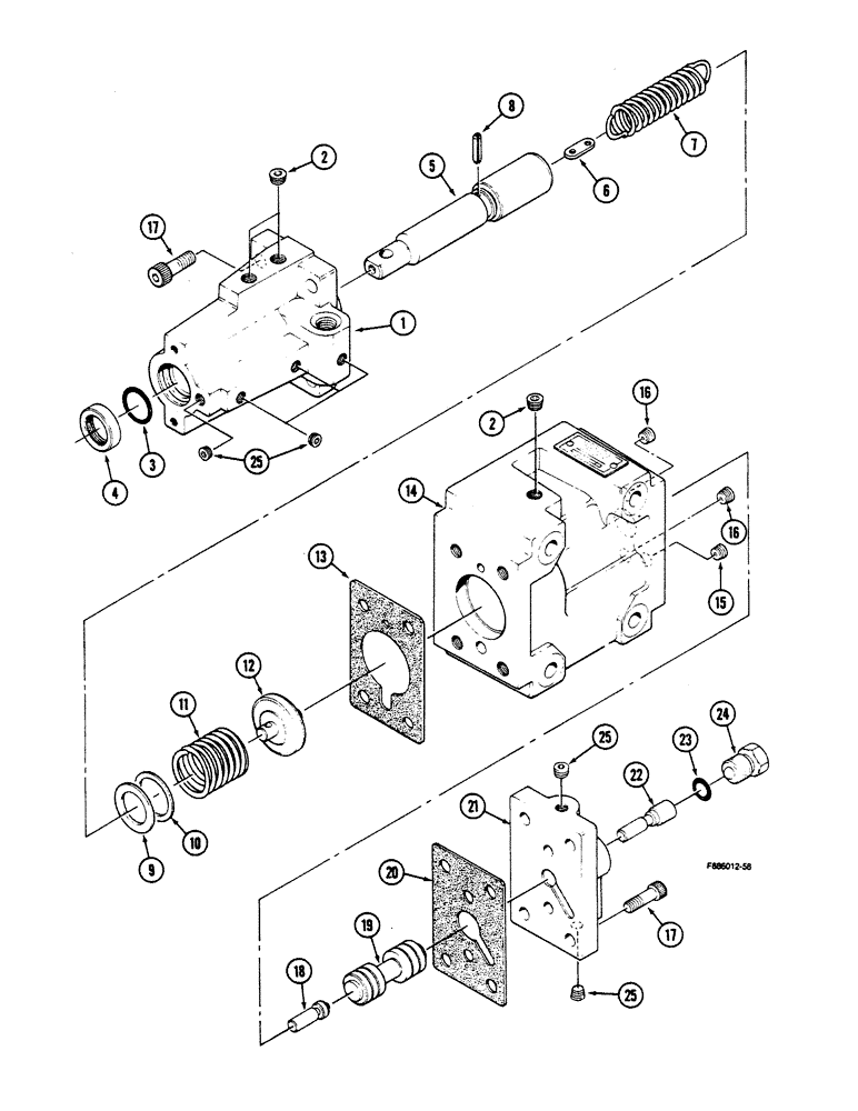
1
25
8
20
10
4
21
17
11
2
12
17
FIT
1:1
100%

Артикул

Название

Примечание

Количество

90-6256T91

TRANSMISSION

ASSEMBLY (Continued from Figure 6-22), Includes: Ref. 1 - 25 and valve assembly

1шт.

S6000S00F

VALVE

ASSEMBLY - clutch control, Includes: Ref. 1 - 25

1шт.

1

S6090S00F

HOUSING

COVER - control stem

1шт.

2

STX99700F

PLUG

3шт.

3

S6120S00F

O-RING

- control stem

1шт.

Part of Transmission Gasket Kit, P/N S1670S00F.

1шт.

4

S6110S00F

OIL SEAL

- control stem

1шт.

Part of Transmission Gasket Kit, P/N S1670S00F.

1шт.

5

S6100S00F

HOUSING

STEM - control

1шт.

6

S6080S00F

LINK, CONNECTING

LINK - connecting

1шт.

7

S6210S00F

SPRING

- tension

1шт.

8

S6130S00F

PIN, ROLL

PIN - roll

1шт.

9

S6200S00F

SPACER

- 31 x 1.2 mm thick

1шт.

10

S6140S0OF

SHIM - 30 x 1.0 mm thick

1шт.

11

S6150S00F

SPRING

- compression

1шт.

12

S6060S00F

SPRING SEAT

SEAT - spring

1шт.

13

S6070S00F

GASKET

- control stem cover

1шт.

Part of Transmission Gasket Kit, P/N S1670S00F.

1шт.

14

S6050S00F

HOUSING

BODY - modulator

1шт.

15

S6240S00F

ORIFICE

PLUG - orifice

1шт.

16

S6230S00F

ORIFICE

PLUG - orifice

2шт.

17

S6260S00F

SCREW

BOLT - socket head

8шт.

18

S6160S00F

PIN

1шт.

19

S6040S00F

SPOOL

- modulator

1шт.

20

S6030S00F

GASKET

- valve cover

1шт.

Part of Transmission Gasket Kit, P/N S1670S00F.

1шт.

21

S6020S00F

COVER

- valve

1шт.

22

S6010S00F

SPOOL

- reducing

1шт.

23

S6180S00F

O-RING

- plug

1шт.

Part of Transmission Gasket Kit, P/N S1670S00F.

1шт.

24

S6170S00F

PLUG

1шт.

25

S6220S00F

PLUG

8шт.

S1670S00F

GASKET

KIT Gasket, transmission, Includes: Refs. 3, 4, 13, 20 and 23

1шт.

Выбрано товаров: 33