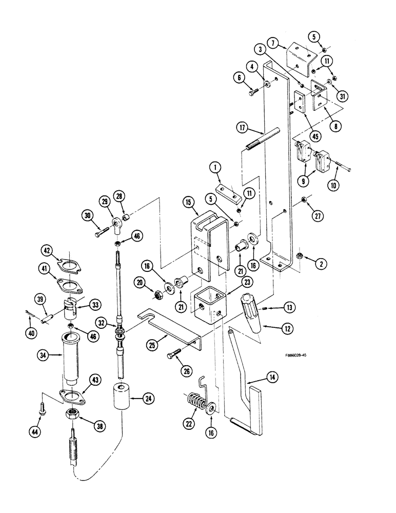
Запчасти Case IH 9150 (6-056) - PTO CONTROLS, IF EQUIPPED (06) - POWER TRAIN

Схема запчастей Case IH 9150 - (6-056) - PTO CONTROLS, IF EQUIPPED (06) - POWER TRAIN
8
40
14
25
13
27
3
5
16
28
44
6
30
45
27
15
32
20
43
16
12
17
26
30
7
21
4
46
23
9
34
41
22
39
1
33
10
16
31
2
21
29
42
46
11
5
11
FIT
1:1
100%

Артикул

Название

Примечание

Количество

1

60-4269T1

LARGE PLATE

WEARSTRIP - lever

1шт.

2

231-1445

NUT,5/16"-18, GB

NUT - lock, 5/16 inch NC

2шт.

3

225-14104

NUT,#4-40

- hex, no. 4 NC

2шт.

4

195-102

WASHER,1/4"

- flat, 5/16 x 3/4 x 1/16 inch

1шт.

5

19-1081

LOCK NUT

- lock, 1/4 inch NC

2шт.

6

113-3

BOLT,Hex, 1/4" - 20 x 3/4", Gr 5

1шт.

7

60-4270T1

SUPPORT

BRACKET - support, console to mounting bracket

1шт.

8

60-5608T1

SUPPORT

BRACKET - micro switch mounting

1шт.

9

20-2340T91

IGNITION SWITCH

SWITCH - micro, neutral safety and PTO tachometer

2шт.

10

470-10428

SCREW,Slotted Pan Hd, #4-40 x 1 3/4"

- machine, round head, no. 4 NC x 1-3/4 inch

2шт.

11

19-5563

LOCK NUT

- lock, no. 10 NC

6шт.

12

60-4272T1

HANDLE

KNOB - lever, PTO actuating

1шт.

13

19-5798

SET SCREW

SCREW - set, no. 8 NC x 5/16 inch

1шт.

14

60-4265T1

LEVER

- actuating, PTO

1шт.

15

60-4296T2

SUPPORT

BRACKET - cable actuating

1шт.

16

19-463

WASHER,1/2", SAE

- flat, 1/2 x 1-1/4 x 3/32 inch

3шт.

17

60-5858T1

SUPPORT

BRACKET - mounting, PTO controls

1шт.

20

19-653

LOCK NUT

- lock, 1/2 inch NC

1шт.

21

90-4367T1

BRONZE BUSHING

BUSHING - pivot

2шт.

22

60-4294T1

SPRING

- pressure

1шт.

23

60-4293T1

JOINT

TRUNNION - lever

1шт.

24

60-3705T1

FOAM

SEAL - foam, cab, Serial Range: floor-cable

1шт.

25

60-5020T1

SUPPORT

BRACKET - cable mounting

1шт.

26

9417950

BOLT,Hex, 5/16" - 18 x 3/4", Gr 5, Full Thd

- hex, 5/16 NC x 3/4 inch

2шт.

27

19-5777

LOCK NUT

- lock, 5/16 inch NC

2шт.

28

60-5021T1

SPACER,0.282" ID x 0.500" OD x 0.312" Thk

- rod end

1шт.

29

19-1031

GASKET

BALL JOINT - PTO cable

1шт.

30

25485R1

BOLT,Hex, 1/4" - 20 x 1 1/4", Gr 8

- hex, 1/4 NC x 1-1/4 inch

1шт.

31

19-195

WASHER,#10

- flat, no. 10 x 9/16 x 3/64 inch

2шт.

32

60-5022T1

CABLE

- actuating, PTO

1шт.

33

2-4694T1

FORK

YOKE - cable

1шт.

34

2-4692T1

ROPE GUIDE

HOUSING - support, cable

1шт.

38

129-168

JAM NUT,Jam, 3/4"-10, G5

- hex jam, 3/4 inch NF

1шт.

39

19-6041

PIN

- clevis

1шт.

40

19-6043

COTTER PIN,1/32" x 3/4"

Pin, Split (Cotter) 1/32" x 3/4"

2шт.

41

60-2056T1

GASKET

- retainer

1шт.

42

60-3008T1

SHIM

- adjusting, housing

1шт.

46

2-4693T1

RETAINER

- housing

1шт.

44

19-5852

FLANGE BOLT,Hex, 1/4" - 20 x 3/4", Gr 5

BOLT - flanged, 1/4 NC x 3/4 inch

2шт.

45

60-5609T1

SPACER

- switch mounting

1шт.

46

19-936

JAM NUT

- jam, 1/4 inch NF

2шт.

Выбрано товаров: 41