Запчасти Case IH 9150 (9-074) - SEAT SIDE SLIDE, IF EQUIPPED (09) - CHASSIS/ATTACHMENTS

Схема запчастей Case IH 9150 - (9-074) - SEAT SIDE SLIDE, IF EQUIPPED (09) - CHASSIS/ATTACHMENTS
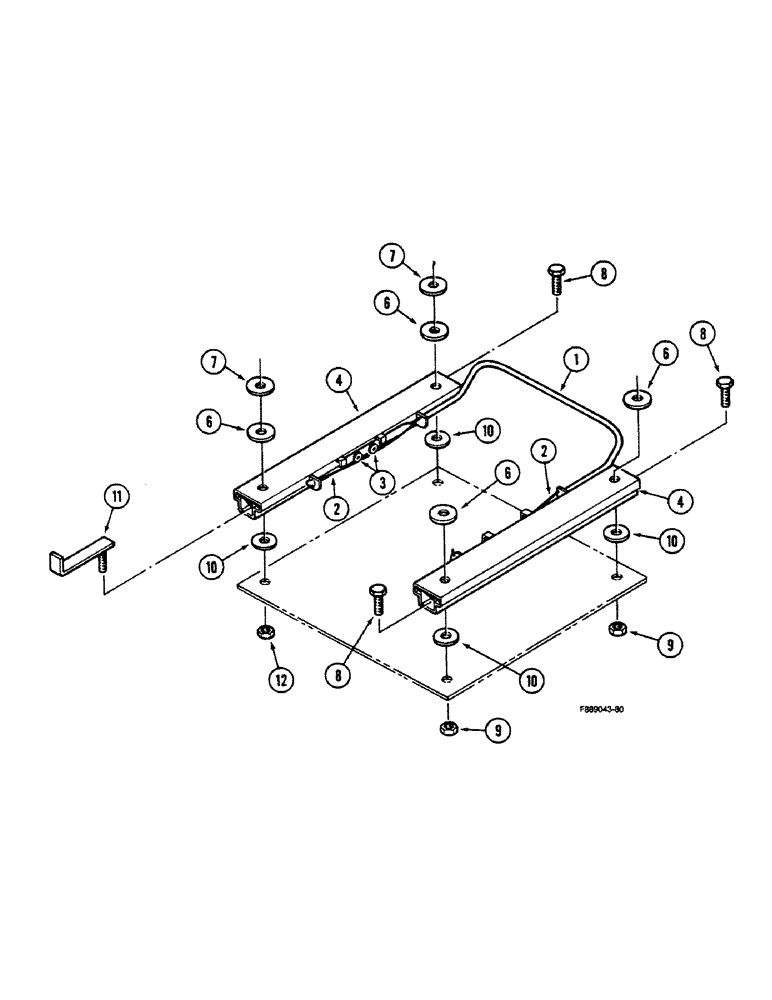
9
12
2
10
1
6
10
4
11
7
10
3
6
7
2
8
6
4
9
6
8
10
8
FIT
1:1
100%

Артикул

Название

Примечание

Количество

35-1675T91

KIT

- side slide seat, Includes: Ref. 1 - 12 and adjuster assembly

1шт.

60-6014T1

SUPPORT

ADJUSTER ASSEMBLY - side slide, Includes: Ref. 1 - 4

1шт.

1

60-6005T1

HANDLE - actuating

1шт.

2

60-6007T1

SPRING - handle return

2шт.

3

60-6006T1

SCREW - shouldered

4шт.

4

60-6004T1

RAIL - slide

2шт.

6

60-6008T1

SPACER

- seat

4шт.

7

60-6009T1

SPACER

- seat, rear (Used with air seat only)

2шт.

8

40-1135

BOLT,M8 x 1.25 x 25mm, Gr 8.8

- hex, M8 x 1.25 x 25 mm

3шт.

9

40-1235

LOCK NUT

NUT - lock, M8 x 1.25

3шт.

10

19-106

WASHER,5/16", SAE

- flat, 5/16 inch

4шт.

11

60-6017T1

ANGLE

STOP - seat adjustment

1шт.

12

231-1445

NUT,5/16"-18, GB

NUT - lock, 5/16 inch NC

1шт.

Выбрано товаров: 13