Качественные детали и логистика
Оригинальные и аналоговые запчасти с доставкой по России, Казахстану и Беларуси
©2022 PartSell ООО "Система" ИНН 2463123282 ОГРН 1212400004838
Центральный офис: г. Красноярск, Академика Киренского, д.87, пом.4
Телефон: 8 (800) 777-65-74 Email: zakaz@partsell.ru
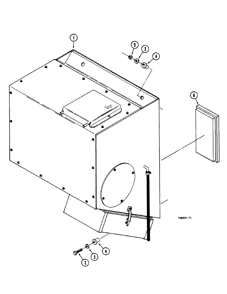
(9-090) - AIR CONDITIONER AND HEATER MODULE, CAB
№
Артикул
Название
Примечание
Количество
1
60-4780T93
CONTROL
MODULE ASSEMBLY - air conditioner and heater
1шт.
2
19-20
BOLT,Hex, 3/8" - 16 x 1 3/4", Gr 5
- hex, 3/8 NC x 1-3/4 inch
2шт.
3
19-107
WASHER
- flat, 3/8 inch
4шт.
4
196504C1
BUSHING
MOUNT - isolator, rubber
5
129-103
NUT,Hex, 3/8" - 16, Gr 5
NUT, 3/8"-16, G5
6
60-3846T2
FILTER
- air recirculation
Выбрано товаров: 0