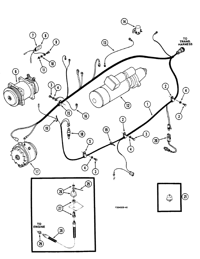
Запчасти Case IH 9150 (4-18) - ENGINE HARNESS, 3306 ENGINE (04) - ELECTRICAL SYSTEMS

Схема запчастей Case IH 9150 - (4-18) - ENGINE HARNESS, 3306 ENGINE (04) - ELECTRICAL SYSTEMS
26
21
7
9
17
2
25
19
3
11
13
20
18
3
15
6
27
8
14
1
3
16
12
5
4
19
28
29
3
4
10
4
2
4
FIT
1:1
100%

Артикул

Название

Примечание

Количество

1

20-2441T1

HARNESS

ASSEMBLY - 3306 engine, Start Serial: 17900705

1шт.

1

20-2500T1

HARNESS

ASSEMBLY - 3306 engine, Serial Range: -17900705

1шт.

2

22-1109

CLAMP

- harness, retaining

2шт.

3

19-288

BOLT,Hex, 5/16" - 18 x 5/8", Gr 5, Full Thd

- hex, 5/16 NC x 5/8 inch

4шт.

4

19-106

WASHER,5/16", SAE

- flat, 5/16 x 11/16 x 1/16 inch

4шт.

5

31-1862

CLAMP

- harness, retaining

1шт.

6

REF

INSTRUCTION

COMPRESSOR - air conditioner (See Figure 9-106)

1шт.

7

20-2415T1

HARNESS

- suppressor diode

1шт.

8

22-738

DIODE

- electrical

1шт.

9

19-17

BOLT,Hex, 3/8" - 16 x 1", Gr 5, Full Thd

- hex, 3/8 NC x 1 inch

1шт.

10

19-243

LOCK WASHER,Ext Tooth, 3/8"

WASHER - lock, external tooth, 3/8 inch

1шт.

11

19-78

SPECIAL NUT,3/8"-16, G5

- hex, 3/8 inch NC

1шт.

12

REF

INSTRUCTION

STARTER - engine (See Figures 4-36 - 4-42)

1шт.

13

20-2031T1

ELECTRICAL WIRE

WIRE ASSEMBLY -, Serial Range: solenoid-starter

1шт.

14

REF

INSTRUCTION

SWITCH - starter, magnetic (See Figure 4-24)

1шт.

15

31-2488

CLAMP

- harness, retaining

1шт.

16

20-2164T1

HARNESS

WIRE ASSEMBLY -, Serial Range: starter-ground

1шт.

17

REF

INSTRUCTION

ALTERNATOR - engine (See Figure 4-46)

1шт.

18

22-681

IGNITION SWITCH

SWITCH - temperature, sender, Start Serial: 17900705

1шт.

18

20-1676T1

SWITCH

- temperature sender, Start Serial: 17900705

1шт.

19

22-824

CABLE TIE,3/16" x 7 1/4"

STRAP - nylon

1шт.

20

20-2357T1

SENSOR

- magnetic

1шт.

For later serial no. refer to service bulletin ntrsb03691 for RPM on the 9150

1шт.

21

1-2227T2

SENDER UNIT

SWITCH - oil pressure (See Figure 4-30), Start Serial: 17900705

1шт.

25

20-2510T1

ELECTRICAL WIRE

WIRE - oil pressure sender, engine, mounting rops

1шт.

26

1-2227T2

SENDER UNIT

SWITCH - oil pressure, engine, sender and mounting rops

1шт.

27

31-2615

ADAPTER

CONNECTOR - straight, bulkhead, 1/8 NPT x 1/8 inch NPT, oil pressure sender and mounting rops

1шт.

28

31-2639

HOSE

ASSEMBLY - oil pressure, 42 inch, sender and mounting rops

1шт.

29

31-607

REDUCER

CONNECTOR - straight, 1/8 NPT x 1/4 inch NPT, oil pressure sender and mounting rops

1шт.

Выбрано товаров: 29