Запчасти Case IH 9150 (4-22) - FRONT HEADLIGHT HARNESS (04) - ELECTRICAL SYSTEMS

Схема запчастей Case IH 9150 - (4-22) - FRONT HEADLIGHT HARNESS (04) - ELECTRICAL SYSTEMS
5
6
6
6
5
5
5
1
5
8
6
6
5
6
8
FIT
1:1
100%

Артикул

Название

Примечание

Количество

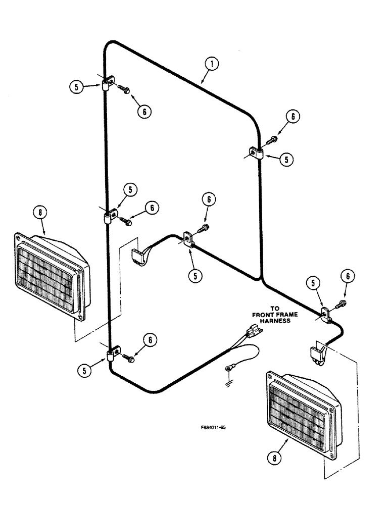
1

20-2022T1

HARNESS

ASSEMBLY - headlamp

1шт.

5

22-1109

CLAMP

- harness, retaining

6шт.

6

281-13712

SELF-TAP SCREW,Hex Wash Hd, 1/4" x 3/4"

SCREW - tapping, hex, 1/4 NC x 3/4 inch

6шт.

8

REF

INSTRUCTION

LAMP ASSEMBLY - head (See Figure 4-46)

2шт.

Выбрано товаров: 4